| № | Наименование | Примечание | Кол-во |
|---|---|---|---|
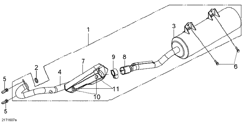
| 2 | JOINT ECHAPP. *EXHAUST GASKET INT | 1 | |
| 3 | MUFFLER ASS Y INT | 1 | |
| 4 | TUYAU ÉHAP. *TUNE PIPE INT | 1 | |
| 5 | CAP NUT INT | 2 | |
| 6 | FLANGE BOLT | 2 | |
| 7 | PROTECTEUR*EXH.PIPE POTECTOR INT | 1 | |
| 8 | JOINT *MUFFLER GASKET INT | 1 | |
| 9 | BRIDE*MUFFLER BAND 37MM INT | 1 | |
| 10 | BOULON*FLANGE SH BOLT SET 6X12 INT | 2 | |
| 11 | RONDELLE*WASHER PLAIN INT | 2 |
