Оригинальные каталоги
Масла и жидкости
Масла моторные
Масла трансмиссионные
Жидкости гидравлические
Жидкости охлаждающие
Жидкости тормозные
Масла гидравлические
Масла для вилок и амортизаторов
Масла компрессорные
Жидкости для стекол
Масла для цепей бензопил
Масла индустриальные
Масла промывочные
Раствор мочевины AdBlue
Автоэлектроника
Видеорегистраторы
Пылесосы автомобильные
FM трансмиттеры
Зарядные устройства
Разветвители, удлинители прикуривателя
Кабели
Вентиляторы автомобильные
Штекер прикуривателя
Датчик парктроника
Камеры заднего вида
Мониторы парковочные
Парктроники
Термометры
Накидки на сиденье с подогревом
Автохолодильники
Антирадары
Диагностический сканер
Аксессуары
Набор автомобилиста
Ароматизаторы
Тросы буксировочные
Канистры
Ремни крепления груза
Стяжки-резинки крепления
Сетки для крепления груза
Скотч
Влажные салфетки
Держатели телефонов, планшетов
Карты памяти
Наушники
Аккумулятор холода
Термосумки и контейнеры
Фонарики
Батарейки
Оплетки на руль
Огнетушители
Салфетки, полотенца, варежки
Инструмент
Домкраты
Компрессоры
Манометры
Насосы
Светильники переносные
Шарнирно-губцевый инструмент
Ударный инструмент
Метчики. Плашки
Заклёпочники
Заклёпки
Измерительный инструмент
Свёрла
Отвёртки
Изолента
Надфили. Напильники
Ножи, ножовки
Щётки
Абразивная бумага
Специнструмент
Ключи
Хомуты
Дрель-шуруповерт
Автохимия
Присадки
Промывки
Очистители
Смазки спрей
Смазки пластичные
Герметики
Средство для рук
Клей
Лакокрасочные материалы
Автошампуни
Полироли
Антифриз для тормозной системы
Масло для пропитки фильтров
Антикоррозионные составы
Прочее
Электрооборудование
Зарядные устройства
Инверторы
Конвертеры
Звуковые сигналы
Провода прикуривания
Предохранители
Противотуманные фары
Дневные ходовые огни
Электрика фаркопа
Шины и диски
Автошины
Грузовые шины
Мотошины
Камеры
Мотокамеры
Лента обода шины
Колпаки
Диски
Одежда и экипировка
Жилеты
Запчасти
Аккумуляторы
Лампы
Щетки стеклоочистителя
Гофры глушителя
Велотовары
Велосипеды
Самокаты
Велокамеры
Искать по VIN или номеру детали
Поиск по штрих-коду
Искать по VIN-номеру
Войти
Авторизация
Логин
Пароль
Напомнить пароль
Запомнить
Войти
Зарегистрироваться
Авторизоваться другим способом
Востановить пароль
Введите ваш email:
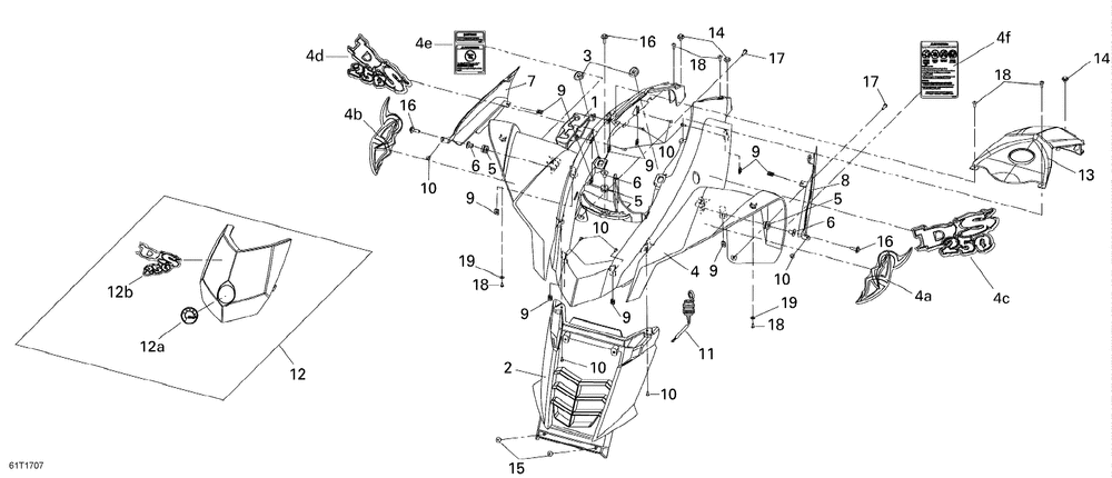
09- Front Fender North America
Корзина пуста
Can-Am
DS 250
DS 250
09- Front Fender North America
№
Наименование
Примечание
Кол-во
1
SHIFT LEVER COVER
1
2
RADIATOR GRILL
1
3
GROMET
2
4
FRONT FENDER North America
1
4
FRONT FENDER WHITE North America
1
4
FRONT FENDER YELLOW North America
1
4a
LH FRONT FENDER DECAL North America
1
4a
DECALQUE*FRONT FENDER STRIPE
2
4a
LH FRONT FENDER DECAL North America
1
4a
LH FRONT FENDER DECAL North America
1
4b
RH FRONT FENDER DECAL North America
1
4b
RH FRONT FENDER DECAL North America
1
4b
RH FRONT FENDER DECAL North America
1
4c
LH FRONT DECAL DS 250 North America
1
4c
LH FRONT DECAL DS 250 North America
1
4c
LH FRONT DECAL B
1
4d
WARNING DECAL DEATH AND INJURY North America
1
4e
RH FRONT DECAL DS 250 North America
1
4e
RH FRONT DECAL B
1
4e
RH FRONT DECAL DS 250 North America
1
4f
WARNING DECAL 14 YEARS OLD North America
1
4f
WARNING DECAL UNDER 16 YEARS OLD North America
1
4g
WARNING DECAL A North America
1
4h
WARNING DECAL ROAD North America
1
4k
SHIFTER LABEL
1
5
RUBBER WASHER North America
3
6
FENDER COLLAR North America
3
7
FR.RH.SIDE FENDER
1
8
FR.LH.SIDE FENDER North America
1
9
CLIP NUT North America
10
10
TAPPING SCREW M4 X 12
10
11
DC POWER OUTLET 12 VOLTS
1
12
RADIATOR COVER ASS Y
1
12
RADIATOR COVER North America
1
12a
DECAL SD250
1
12a
DECAL DS250 North America
1
12a
DECAL SD250 North America
1
12b
BRP LOGO
1
13
FUEL TANK COVER
1
14
SPECIAL SCREW
2
14
WASHER BOLT
3
14
WASHER BOLT North America
3
14
TAPPING SCREW North America
2
14
SPRING WASHER 5 MM North America
2
14
TAPING SCREW M5 X 16 North America
6