| № | Наименование | Примечание | Кол-во |
|---|---|---|---|
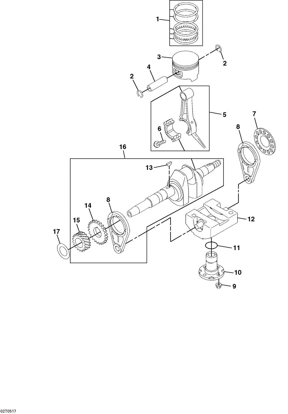
| 1 | PISTON RING KIT | 1 | |
| 1 | ENS.SEGMENT PIS*PISTON RING KIT | 1 | |
| 2 | SNAP RING | 2 | |
| 3 | PISTON STANDARD*PISTON STD. | 1 | |
| 3 | PISTON SURDIMEN*PISTON OVERSIZE | 1 | |
| 4 | GOUPILLE PISTON*PISTON PIN | 1 | |
| 5 | BIELLE MOTEUR *CONNECTING ROD Includes Items 5 to 6 | 1 | |
| 6 | BOULON BIELLE *BOLT | 2 | |
| 7 | ENTRETOISE *SPACER Includes Items 7 to 8 | 1 | |
| 8 | TIGE CONTREPOID*ROD | 2 | |
| 9 | ECROU *NUT | 4 | |
| 10 | ARBRE *SHAFT | 1 | |
| 11 | O-RING | 1 | |
| 12 | CONTREPOIDS *COUNTERWEIGHT Includes Items 12 to 15 | 1 | |
| 13 | CLAVETTE *SHAFT KEY (2.000 per pack) | 1 | |
| 14 | ENGRENAGE DROIT*SPUR GEAR | 1 | |
| 15 | ENGRENAGE HELIC*HELICAL GEAR | 1 | |
| 16 | VILEBREQUIN *CRANKSHAFT | 1 | |
| 17 | ENS.CALE EPAISS*SHIM KIT | 1 |
