| № | Наименование | Примечание | Кол-во |
|---|---|---|---|
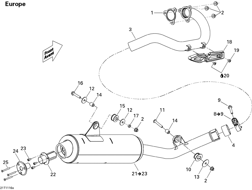
| 1 | JOINT ETANCHE *GASKET | 1 | |
| 2 | Hex. Flanged Nut M8 | 5 | |
| 3 | TUNED PIPE | 1 | |
| 4 | PIPE GASKET | 1 | |
| 8 | COLLET *COLLAR (Includes 8 to 9 ) | 1 | |
| 9 | HEX. FLANGED SCREW M8 X 40 | 1 | |
| 10 | CAOUTCHOUC *RUBBER | 1 | |
| 11 | TORX TRUSS SCREW M8 X 50 (2.000 per pack) | 1 | |
| 12 | FLAT WASHER | 2 | |
| 13 | RONDELLE *WASHER (5.000 per pack) | 1 | |
| 14 | BUSHING | 2 | |
| 15 | ANTI-VIBRATION RUBBER | 1 | |
| 16 | HEX. FLANGED SCREW M8 X 45 | 1 | |
| 17 | BUSHING | 1 | |
| 18 | HEAT SHIELD | 1 | |
| 19 | TORX TRUSS SCREW M6 X 10 | 2 | |
| 20 | LOCTITE 271 10 ML | 0 | |
| 21 | MUFFLER Inclus 21 to 23 | 1 | |
| 22 | EMBOUT ETINCEL.*END-PIECE | 1 | |
| 23 | SOCKET HEAD SCREW M5 X 10 (10.000 per pack) | 3 | |
| 24 | RESTRICTOR | 1 | |
| 25 | SOCKET HEAD SCREW M5 X 45 (2.000 per pack) | 3 |
