| № | Наименование | Примечание | Кол-во |
|---|---|---|---|
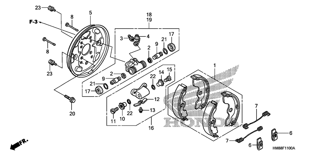
| 001 | SHOE SET BRAKE | 0 | |
| 002 | CUP PISTON | 4 | |
| 003 | SCREW, BLEEDER | 2 | |
| 004 | CAP, BLEEDER | 2 | |
| 005 | PLATE BACK | 2 | |
| 006 | SPRING SHOE HOLDER | 4 | |
| 007 | SPRING BRAKE | 4 | |
| 008 | PIN TENSION | 4 | |
| 009 | PISTON | 0 | |
| 010 | NUT R. ADJUSTER | 2 | |
| 011 | SCREW R. ADJUSTING | 2 | |
| 012 | SPRING LOCK | 2 | |
| 013 | SCREW-WASHER (4X6) | 2 | |
| 014 | NUT L. ADJUSTER | 2 | |
| 015 | SCREW L. ADJUSTING | 2 | |
| 016 | ADJUSTER ASSY. | 2 | |
| 017 | BOOT WHEEL CYLINDER | 4 | |
| 018 | CYLINDER R. FR. | 1 | |
| 019 | CYLINDER L. FR. | 1 | |
| 020 | BOLT FLANGE (8X12) | 8 | |
| 021 | CLIP PISTON | 4 | |
| 022 | O-RING (14X1.5) | 4 | |
| 023 | BOLT-WASHER (6X12) | 8 |
