| № | Наименование | Примечание | Кол-во |
|---|---|---|---|
| 001 | METER COMBINATION | 1 | |
| 002 | CAP | 7 | |
| 003 | RUBBER MOUNTING | 3 | |
| 004 | CLAMP | 1 | |
| 005 | COLLAR, CVR SETTING | 3 | |
| 006 | SCREW, TAPPING (3X16) | 7 | |
| 007 | SCREW, TAPPING (4X16) | 1 | |
| 008 | SCREW, TAPPING (5X16) | 3 | |
| 009 | NUT, FLANGE (6MM) | 3 |
| Корзина пуста |
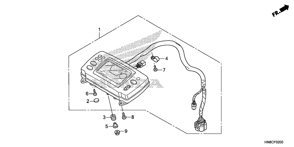
| № | Наименование | Примечание | Кол-во |
|---|---|---|---|
| 001 | METER COMBINATION | 1 | |
| 002 | CAP | 7 | |
| 003 | RUBBER MOUNTING | 3 | |
| 004 | CLAMP | 1 | |
| 005 | COLLAR, CVR SETTING | 3 | |
| 006 | SCREW, TAPPING (3X16) | 7 | |
| 007 | SCREW, TAPPING (4X16) | 1 | |
| 008 | SCREW, TAPPING (5X16) | 3 | |
| 009 | NUT, FLANGE (6MM) | 3 |