| № | Наименование | Примечание | Кол-во |
|---|---|---|---|
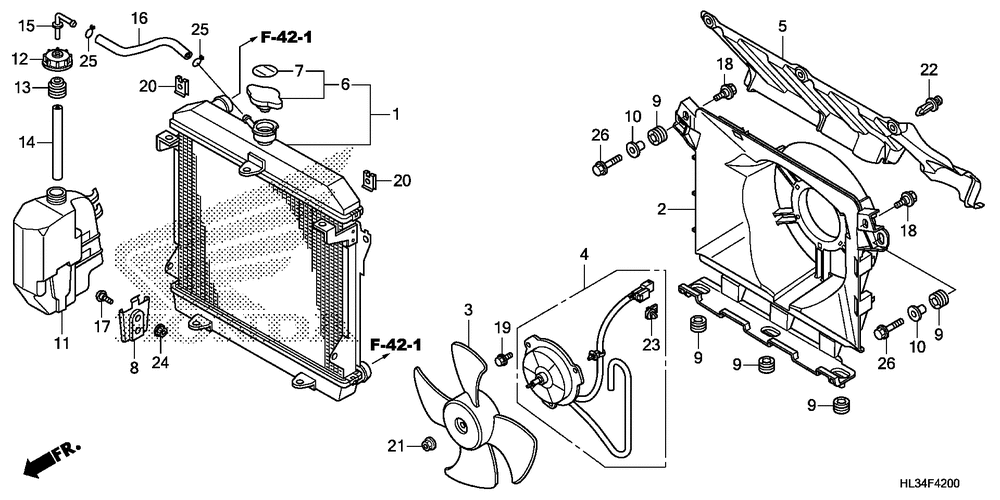
| 001 | RADIATOR | 1 | |
| 002 | STAY FAN | 1 | |
| 003 | FAN COOLING | 1 | |
| 004 | *19030-HR3-A21 | 1 | |
| 005 | PLATE AIR GUIDE | 1 | |
| 006 | CAP, RADIATOR | 1 | |
| 007 | LABEL, RADIATOR CAP | 1 | |
| 008 | STAY RESERVE TANK | 1 | |
| 009 | RUBBER | 5 | |
| 010 | COLLAR | 2 | |
| 011 | TANK RESERVE | 1 | |
| 012 | Крышка бачка расширительного | 1 | |
| 013 | SEAL RESERVE TANK | 1 | |
| 014 | HOSE A RESERVE TANK | 1 | |
| 015 | Переходник/joint,reserve tan | 1 | |
| 016 | HOSE B RESERVE TANK | 1 | |
| 017 | SCREW, SPECIAL (6MM) | 2 | |
| 018 | BOLT, FLANGE (6MM) | 2 | |
| 019 | BOLT, FLANGE (5X10) | 3 | |
| 020 | NUT, CLIP (6MM) | 2 | |
| 021 | NUT, SERRATE (5MM) | 1 | |
| 022 | CLIP, SPLASH GUARD | 7 | |
| 023 | CLIP CONNECTOR | 1 | |
| 024 | NUT, FLANGE (6MM) | 2 | |
| 025 | CLIP, TUBE (C11) | 2 | |
| 026 | BOLT, FLANGE (6X22) | 2 | |
| 027 | SPLASH GUARD | 1 |
