| № | Наименование | Примечание | Кол-во |
|---|---|---|---|
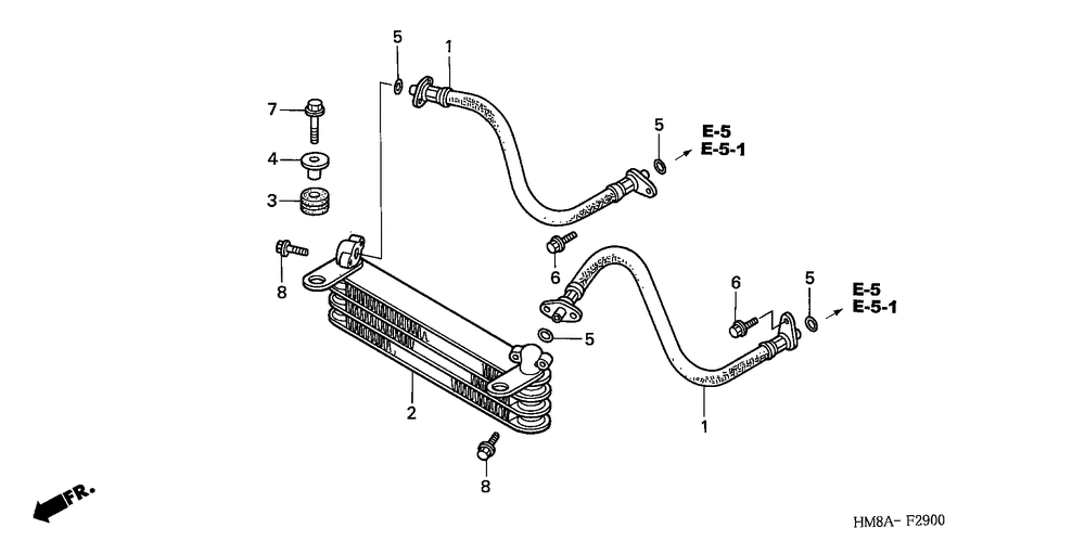
| 001 | HOSE OIL | 2 | |
| 002 | COOLER OIL | 1 | |
| 003 | RUBBER | 2 | |
| 004 | COLLAR | 2 | |
| 004 | COLLAR | 2 | |
| 005 | O-RING (11X2.4) | 4 | |
| 006 | BOLT, FLANGE (6X18) | 2 | |
| 007 | BOLT, FLANGE (6X22) | 2 | |
| 008 | BOLT, FLANGE (6X20) | 4 |
| Корзина пуста |
| № | Наименование | Примечание | Кол-во |
|---|---|---|---|
| 001 | HOSE OIL | 2 | |
| 002 | COOLER OIL | 1 | |
| 003 | RUBBER | 2 | |
| 004 | COLLAR | 2 | |
| 004 | COLLAR | 2 | |
| 005 | O-RING (11X2.4) | 4 | |
| 006 | BOLT, FLANGE (6X18) | 2 | |
| 007 | BOLT, FLANGE (6X22) | 2 | |
| 008 | BOLT, FLANGE (6X20) | 4 |