| № | Наименование | Примечание | Кол-во |
|---|---|---|---|
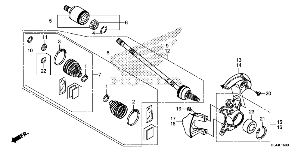
| 001 | BAND SHAFT BOOT | 4 | |
| 002 | BAND A OUTBOARD | 2 | |
| 003 | BAND A INBOARD | 2 | |
| 004 | RING SNAP | 2 | |
| 005 | JOINT FR. INBOARD | 2 | |
| 007 | BOOT SET FR. | 2 | |
| 008 | BOOT SET FR. | 2 | |
| 009 | SHAFT SET FR. DRIVE | 1 | |
| 010 | SET-RING (26X1.8) | 2 | |
| 010 | SET-RING (26X1.8) | 2 | |
| 011 | CIRCLIP | 2 | |
| 013 | SPLASH GUARD R. FR. | 1 | |
| 014 | SPLASH GUARD L. FR. | 1 | |
| 015 | KNUCKLE R. FR. | 1 | |
| 016 | KNUCKLE L. FR. | 1 | |
| 017 | GUARD R. FR. | 1 | |
| 018 | GUARD L. FR. | 1 | |
| 019 | BOLT FLANGE (6MM) | 4 | |
| 020 | BOLT SOCKET (6X15) | 4 | |
| 021 | CIRCLIP (INNER) (75) | 2 | |
| 023 | BEARING (40X74X36) | 2 |
