| № | Наименование | Примечание | Кол-во |
|---|---|---|---|
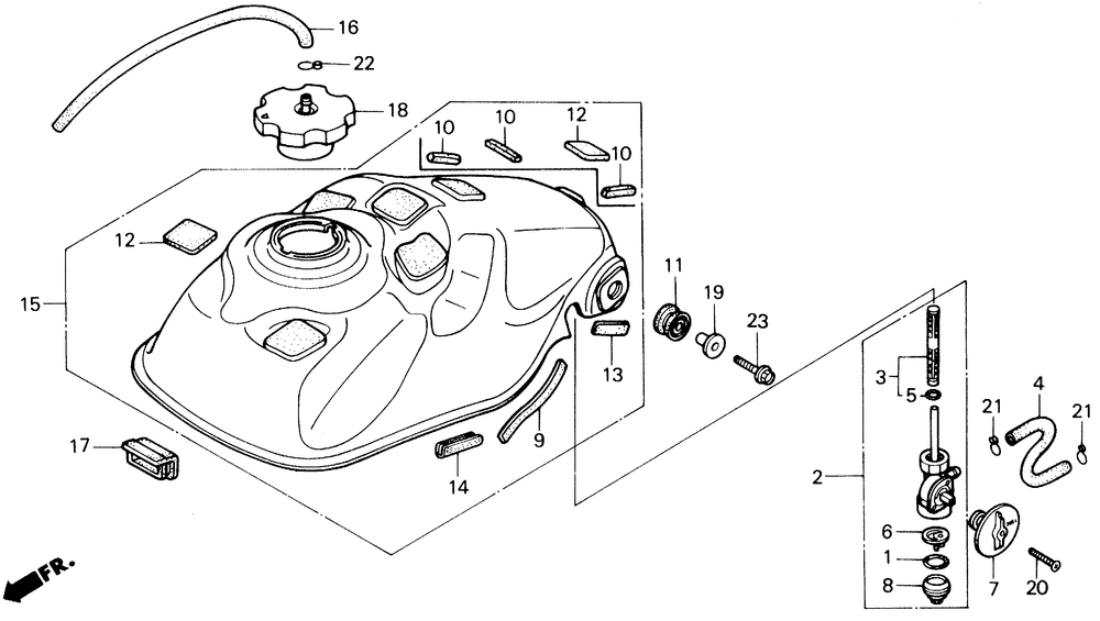
| 001 | O-RING | 1 | |
| 002 | PETCOCK ASSY. | 1 | |
| 003 | SCREEN SET | 1 | |
| 004 | TUBE FUEL | 1 | |
| 005 | O-RING (10.6X1.3) | 1 | |
| 005 | O-RING1.3X10.6 | 1 | |
| 006 | FILTER, CUP | 1 | |
| 007 | LEVER *PB198* (NEO BLUE) | 0 | |
| 008 | CUP, FUEL STRAINER | 1 | |
| 009 | RUBBER TANK SPACER | 2 | |
| 011 | RUBBER | 2 | |
| 012 | RUBBER TANK SETTING | 6 | |
| 013 | CUSHION, TANK | 2 | |
| 014 | TRIM, FUEL TANK | 2 | |
| 015 | TANK FUEL *NH1* (BLACK) | 0 | |
| 016 | TUBE | 1 | |
| 017 | RUBBER FR. | 1 | |
| 018 | FUEL FILL CAP | 1 | |
| 019 | WASHER TANK SETTING | 2 | |
| 020 | SCREW-WASHER (5X28) | 1 | |
| 021 | CLIP, TUBE (B12) | 2 | |
| 022 | CLIP, TUBE (C9) | 1 | |
| 023 | BOLT, FLANGE (8X28) | 2 |
