| № | Наименование | Примечание | Кол-во |
|---|---|---|---|
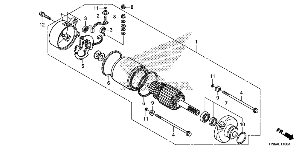
| 001 | STARTER MOTOR ASSY. | 1 | |
| 002 | TERMINAL SET, BRUSH | 1 | |
| 003 | SPRING, CARBON BRUSH | 2 | |
| 004 | BOLT SETTING | 2 | |
| 005 | HOLDER SET, BRUSH | 1 | |
| 006 | RING | 2 | |
| 007 | BRACKET FR. | 1 | |
| 008 | NUT-WASHER (6MM) | 2 | |
| 009 | WASHER, STEEL PLATE | 2 | |
| 010 | O-RING (24.4X3.1) | 1 | |
| 011 | O-RING (4X2) | 3 | |
| 012 | BOLT, FLANGE (6X25) | 2 |
