| № | Наименование | Примечание | Кол-во |
|---|---|---|---|
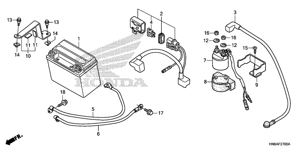
| 002 | CABLE | 1 | |
| 003 | CABLE STARTER MOTOR | 1 | |
| 004 | FUSE BLADE (15A) | 1 | |
| 005 | CABLE | 1 | |
| 006 | CABLE FRAME GROUND | 1 | |
| 007 | SW STARTER MAGNETIC | 1 | |
| 008 | RUB, MAGNETIC SHOCK | 1 | |
| 009 | STAY | 1 | |
| 010 | BAND BATTERY | 1 | |
| 011 | RUBBER, RR. COWL | 2 | |
| 012 | WASHER SPRING (6MM) | 2 | |
| 013 | BOLT, FLANGE (6MM) | 2 | |
| 014 | NUT CLIP (6MM) | 2 | |
| 015 | SCREW, TAP (5X12) | 1 | |
| 016 | NUT HEX. (6MM) | 2 | |
| 017 | BOLT, FLANGE (6X10) | 1 | |
| 018 | BOLT, FLANGE (6X16) | 1 |
