| № | Наименование | Примечание | Кол-во |
|---|---|---|---|
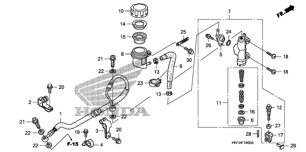
| 001 | HOSE RR. BRAKE | 1 | |
| 002 | CLAMP BRAKE HOSE | 1 | |
| 003 | CLAMP B RR. | 1 | |
| 004 | GUIDE BRAKE HOSE | 1 | |
| 005 | CONNECTOR | 1 | |
| 006 | BOOT | 1 | |
| 007 | M/CYL SUB-ASSY RR. | 1 | |
| 008 | CUP, MASTER CYLINDER OIL | 1 | |
| 009 | HOSE RR. | 1 | |
| 010 | CAP, MASTER CYLINDER | 1 | |
| 011 | PISTON SET, MASTER CYLINDER (NOT AVAILABLE) | 0 | |
| 012 | ROD PUSH | 1 | |
| 013 | CLAMP | 2 | |
| 014 | PLATE, DIAPHRAGM | 1 | |
| 015 | DIAPHRAGM | 1 | |
| 016 | Кольцо стопорное | 1 | |
| 017 | JOINT, BRAKE ROD | 1 | |
| 018 | BOLT, SPECIAL (6X22) | 2 | |
| 019 | BOLT FLANGE (5MM) | 1 | |
| 020 | BOLT, FLANGE (6X14) | 1 | |
| 021 | BOLT, OIL (10X22) | 2 | |
| 022 | WASHER, OIL BOLT | 4 | |
| 023 | CLIP, CABLE (20MM) | 1 | |
| 024 | O-RING (14.8X2.4) | 1 | |
| 025 | CLIP (2X70) | 1 | |
| 026 | SCREW-WASHER (4X12) | 1 | |
| 026 | БОЛТ С ШАЙБОЙ | 1 | |
| 027 | NUT, HEX. (8MM) | 1 | |
| 028 | PIN, SPLIT (2.0X22) | 1 | |
| 028 | PIN SPLIT (2.0X35) | 1 | |
| 028 | PIN, SPLIT (2.0X28) | 1 | |
| 028 | PIN, COTTER (2.0X32) | 1 | |
| 029 | PIN D, JOINT | 1 | |
| 030 | BOLT, FLANGE (6X16) | 1 |
