Оригинальные каталоги
Масла и жидкости
Масла моторные
Масла трансмиссионные
Жидкости гидравлические
Жидкости охлаждающие
Жидкости тормозные
Масла гидравлические
Масла для вилок и амортизаторов
Масла компрессорные
Жидкости для стекол
Масла для цепей бензопил
Масла индустриальные
Масла промывочные
Раствор мочевины AdBlue
Автоэлектроника
Видеорегистраторы
Пылесосы автомобильные
FM трансмиттеры
Зарядные устройства
Разветвители, удлинители прикуривателя
Кабели
Вентиляторы автомобильные
Штекер прикуривателя
Датчик парктроника
Камеры заднего вида
Мониторы парковочные
Парктроники
Термометры
Накидки на сиденье с подогревом
Автохолодильники
Антирадары
Диагностический сканер
Аксессуары
Набор автомобилиста
Ароматизаторы
Тросы буксировочные
Канистры
Ремни крепления груза
Стяжки-резинки крепления
Сетки для крепления груза
Скотч
Влажные салфетки
Держатели телефонов, планшетов
Карты памяти
Наушники
Аккумулятор холода
Термосумки и контейнеры
Фонарики
Батарейки
Оплетки на руль
Огнетушители
Салфетки, полотенца, варежки
Инструмент
Домкраты
Компрессоры
Манометры
Насосы
Светильники переносные
Шарнирно-губцевый инструмент
Ударный инструмент
Метчики. Плашки
Заклёпочники
Заклёпки
Измерительный инструмент
Свёрла
Отвёртки
Изолента
Надфили. Напильники
Ножи, ножовки
Щётки
Абразивная бумага
Специнструмент
Ключи
Хомуты
Дрель-шуруповерт
Автохимия
Присадки
Промывки
Очистители
Смазки спрей
Смазки пластичные
Герметики
Средство для рук
Клей
Лакокрасочные материалы
Автошампуни
Полироли
Антифриз для тормозной системы
Масло для пропитки фильтров
Антикоррозионные составы
Прочее
Электрооборудование
Зарядные устройства
Инверторы
Конвертеры
Звуковые сигналы
Провода прикуривания
Предохранители
Противотуманные фары
Дневные ходовые огни
Электрика фаркопа
Шины и диски
Автошины
Грузовые шины
Мотошины
Камеры
Мотокамеры
Лента обода шины
Колпаки
Диски
Одежда и экипировка
Жилеты
Запчасти
Аккумуляторы
Лампы
Щетки стеклоочистителя
Гофры глушителя
Велотовары
Велосипеды
Самокаты
Велокамеры
Искать по VIN или номеру детали
Поиск по штрих-коду
Искать по VIN-номеру
Войти
Авторизация
Логин
Пароль
Напомнить пароль
Запомнить
Войти
Зарегистрироваться
Авторизоваться другим способом
Востановить пароль
Введите ваш email:
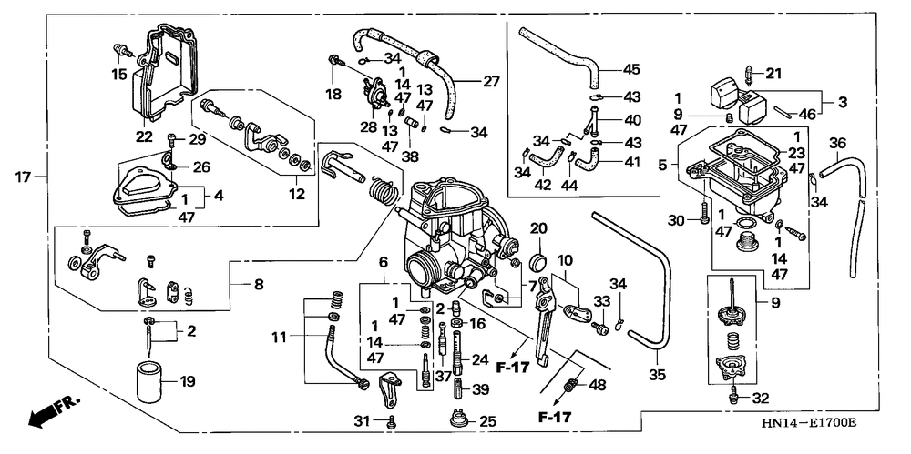
CARBURETOR
Корзина пуста
Honda
TRX400EX
TRX400EX
CARBURETOR
№
Наименование
Примечание
Кол-во
001
GASKET SET
1
002
NEEDLE SET JET
1
003
FLOAT SET
1
004
TOP SET
1
005
CHAMBER SET FLOAT
1
006
SCREW SET
1
007
ROD SET CHOKE
1
008
ARM SET LINK
1
009
DIAPHRAGM SET PUMP
1
010
LEVER SET CHOKE
1
011
SCREW SET
1
012
ARM SET PUMP
1
013
O-RING (1.3X2.8)
2
014
O-RING (1.3X4.3)
3
015
SCREW-WASHER
2
016
NUT HEX.
1
017
CARBURETOR (QB10A B)
1
018
SCREW
1
019
VALVE THROTTLE
1
020
CAP, CHOKE DUST
1
021
VALVE, FLOAT
1
022
COVER BODY
1
023
GSKT FLOAT CHAMBER
1
024
HOLDER NEEDLE JET
1
025
HOLDER JET
1
026
BINDER
1
027
TUBE
1
028
VALVE ASSY., AIR CUT
1
029
SCREW, PAN (4X8)
3
029
SCREW PAN (4X8)
3
030
SCREW, PAN (4X14)
4
030
SCREW PAN (4X14)
4
031
SCREW, PAN (6X10)
1
031
SCREW PAN (6X10)
1
032
SCREW-WASHER (4X12)
3
032
SCREW-WASHER (4X12)
3
033
SCREW-WASHER (5X10)
1
034
CLIP, TUBE (B7)
5
036
BULK HOSE (3.5X1000)
0
037
JET SLOW (tahos_38)
1
038
JET SLOW AIR (tahos_110)
1
039
JET MAIN (tahos_142)
0
039
JET MAIN (tahos_148)
1
040
JOINT
1
041
BULK HOSE, VACUUM (4.5X1000) (4.5X17)
0
043
CLIP, TUBE (B1 8)
2
044
CLIP, TUBE
1
046
PIN ARM
1