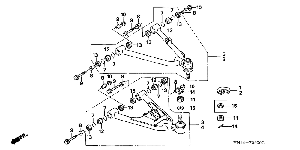
FRONT ARM

Корзина пуста