| № | Наименование | Примечание | Кол-во |
|---|---|---|---|
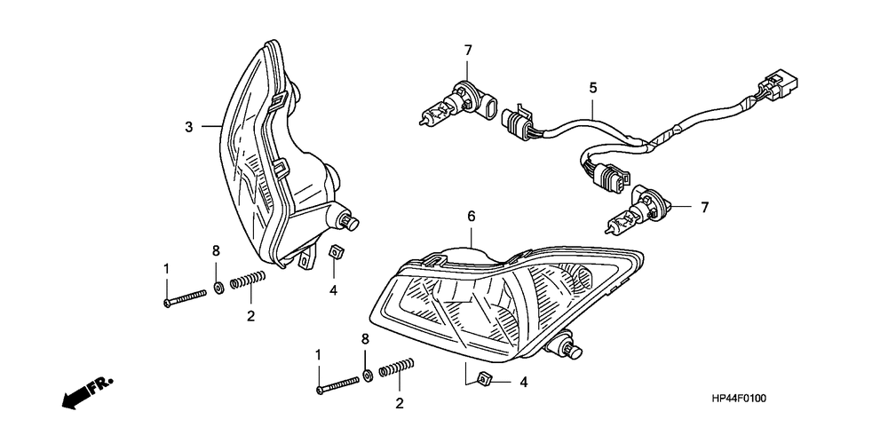
| 001 | SCREW, PAN (4X55) | 2 | |
| 002 | SPRING | 2 | |
| 003 | HEADLIGHT UNIT R. | 1 | |
| 004 | NUT, BEAM ADJUSTING | 2 | |
| 005 | SOCKET HEADLIGHT | 1 | |
| 006 | HEADLIGHT UNIT L. | 1 | |
| 007 | BULB (12V 30/30W) | 2 | |
| 008 | WASHER, PLAIN (4MM) | 2 |
| Корзина пуста |
| № | Наименование | Примечание | Кол-во |
|---|---|---|---|
| 001 | SCREW, PAN (4X55) | 2 | |
| 002 | SPRING | 2 | |
| 003 | HEADLIGHT UNIT R. | 1 | |
| 004 | NUT, BEAM ADJUSTING | 2 | |
| 005 | SOCKET HEADLIGHT | 1 | |
| 006 | HEADLIGHT UNIT L. | 1 | |
| 007 | BULB (12V 30/30W) | 2 | |
| 008 | WASHER, PLAIN (4MM) | 2 |