| № | Наименование | Примечание | Кол-во |
|---|---|---|---|
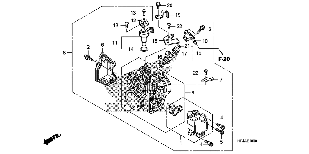
| 001 | SENSOR SET | 1 | |
| 002 | SCREW-WASHER | 1 | |
| 003 | BOLT, FLANGE (5X20) | 2 | |
| 004 | SCREW, TORX (5X8.7) | 2 | |
| 005 | SCREW, TORX (5X17) | 1 | |
| 006 | COVER BODY | 1 | |
| 007 | STAY HARNESS CLAMP | 1 | |
| 008 | BODY ASSY. (GQB6A A) | 1 | |
| 009 | BODY SET | 1 | |
| 010 | JOINT, INJECTOR | 1 | |
| 011 | VALVE SET | 1 | |
| 012 | PLATE, IDLE AIR CONTROL VALVE | 1 | |
| 013 | SCREW, TORX | 2 | |
| 014 | O-RING (17.8X1.9) | 1 | |
| 015 | INJECTOR ASSY. FUEL | 1 | |
| 016 | SEAL RING, INJECTOR | 1 | |
| 017 | CUSHION RING | 1 | |
| 018 | BASE CLAMP | 1 | |
| 019 | CLAMP, FUEL HOSE | 1 | |
| 020 | BOLT, FLANGE (5X10) | 1 | |
| 021 | O-RING (7.8X1.9) | 1 | |
| 022 | SCREW, PAN (5X10) | 2 | |
| 022 | SCREW, PAN (5X10) | 2 | |
| 022 | SCREW PAN (5X10) | 2 |
