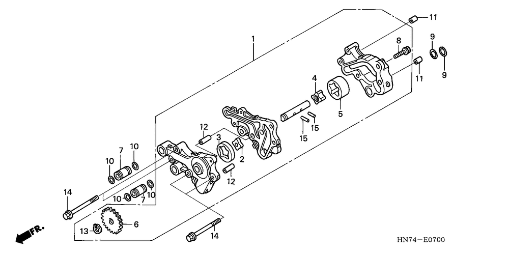
| № | Наименование | Примечание | Кол-во |
|---|---|---|---|
| 001 | PUMP ASSY. OIL | 1 | |
| 002 | ROTOR B OIL PUMP | 1 | |
| 003 | ROTOR B OIL PUMP | 1 | |
| 004 | ROTOR C OIL PUMP | 1 | |
| 005 | ROTOR C OIL PUMP | 1 | |
| 006 | GEAR (20T) | 1 | |
| 007 | JOINT SPECIAL | 2 | |
| 008 | BOLT FLANGE (5X25) | 1 | |
| 009 | O-RING (18X1.4) | 2 | |
| 010 | O-RING (11X1.9) | 4 | |
| 010 | O-RING (11X1.9) | 4 | |
| 011 | PIN, DOWEL (8X10) | 2 | |
| 012 | PIN, DOWEL (8X20) | 2 | |
| 013 | CIRCLIP (11MM) | 1 | |
| 014 | BOLT, FLANGE (6X60) | 4 | |
| 015 | ROLLER (4X15.8) | 2 |
