| № | Наименование | Примечание | Кол-во |
|---|---|---|---|
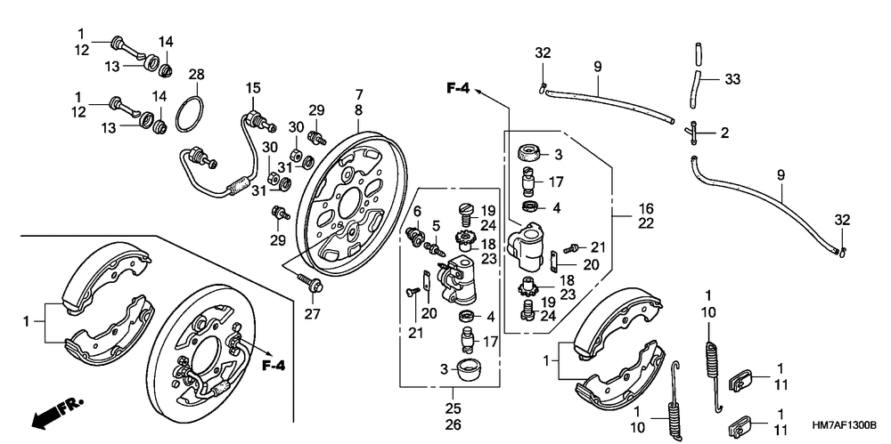
| 001 | SHOE SET BRAKE | 1 | |
| 002 | JOINT TUBE | 1 | |
| 003 | COVER DUST | 4 | |
| 003 | COVER DUST | 4 | |
| 004 | CUP PISTON | 4 | |
| 005 | SCREW, BLEEDER | 2 | |
| 006 | CAP, BLEEDER | 2 | |
| 007 | PLATE R. BACK | 1 | |
| 008 | PLATE L. BACK | 1 | |
| 009 | TUBE FR. | 2 | |
| 010 | SPRING BRAKE | 4 | |
| 011 | Крепеж | 4 | |
| 012 | PIN TENSION | 4 | |
| 013 | CAP PIN | 4 | |
| 014 | SEAL PIN | 4 | |
| 015 | PIPE FR. | 2 | |
| 016 | CYLINDER A R. FR. | 1 | |
| 017 | PISTON | 4 | |
| 018 | NUT R. ADJUSTER | 2 | |
| 019 | SCREW R. ADJUSTING | 2 | |
| 020 | LOCK SPRING | 4 | |
| 021 | SCREW-WASHER (4X6) | 4 | |
| 022 | CYLINDER A L. FR. | 1 | |
| 023 | NUT L. ADJUSTER | 2 | |
| 024 | SCREW L. ADJUSTING | 2 | |
| 025 | CYLINDER B R. FR. | 0 | |
| 026 | CYLINDER B L. FR. | 0 | |
| 027 | BOLT FLANGE (8X20) | 8 | |
| 028 | O-RING (64.6X1.7) | 2 | |
| 029 | BOLT-WASHER (6X12) | 4 | |
| 030 | NUT, HEX. (8MM) | 4 | |
| 030 | NUT, HEX. (8MM) | 4 | |
| 030 | NUT HEX. (8MM) | 4 | |
| 030 | NUT, HEX. (8MM) | 4 | |
| 031 | WASHER, SPRING (8MM) | 4 | |
| 032 | CLIP, TUBE (C6.5) | 2 | |
| 033 | BULK HOSE (3.5X1000) | 0 |
