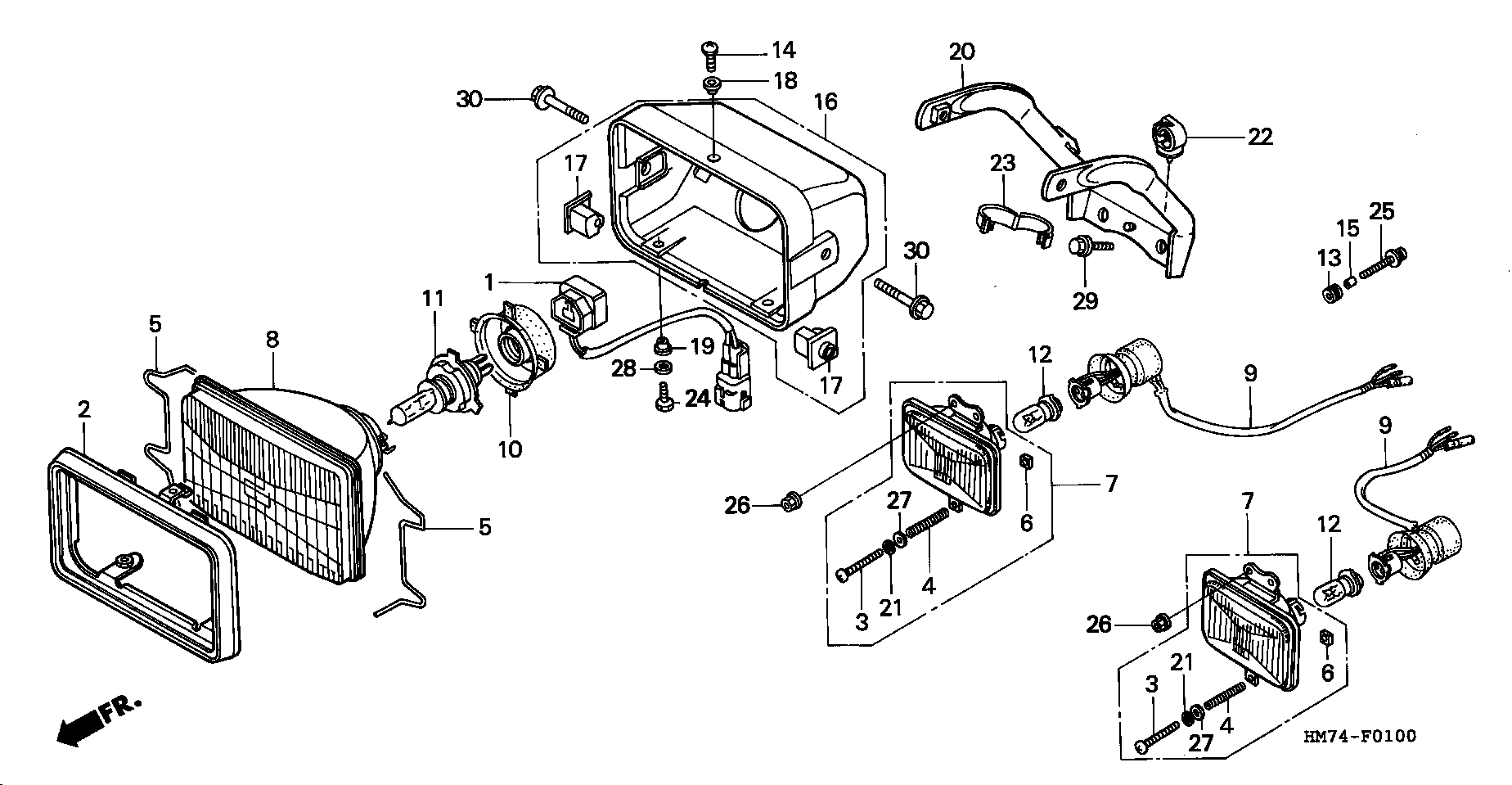
HEADLIGHT 95-96

Корзина пуста