Оригинальные каталоги
Масла и жидкости
Масла моторные
Масла трансмиссионные
Жидкости гидравлические
Жидкости охлаждающие
Жидкости тормозные
Масла гидравлические
Масла для вилок и амортизаторов
Масла компрессорные
Жидкости для стекол
Масла для цепей бензопил
Масла индустриальные
Масла промывочные
Раствор мочевины AdBlue
Автоэлектроника
Видеорегистраторы
Пылесосы автомобильные
FM трансмиттеры
Зарядные устройства
Разветвители, удлинители прикуривателя
Кабели
Вентиляторы автомобильные
Штекер прикуривателя
Датчик парктроника
Камеры заднего вида
Мониторы парковочные
Парктроники
Термометры
Накидки на сиденье с подогревом
Автохолодильники
Антирадары
Диагностический сканер
Аксессуары
Набор автомобилиста
Ароматизаторы
Тросы буксировочные
Канистры
Ремни крепления груза
Стяжки-резинки крепления
Сетки для крепления груза
Скотч
Влажные салфетки
Держатели телефонов, планшетов
Карты памяти
Наушники
Аккумулятор холода
Термосумки и контейнеры
Фонарики
Батарейки
Оплетки на руль
Огнетушители
Салфетки, полотенца, варежки
Инструмент
Домкраты
Компрессоры
Манометры
Насосы
Светильники переносные
Шарнирно-губцевый инструмент
Ударный инструмент
Метчики. Плашки
Заклёпочники
Заклёпки
Измерительный инструмент
Свёрла
Отвёртки
Изолента
Надфили. Напильники
Ножи, ножовки
Щётки
Абразивная бумага
Специнструмент
Ключи
Хомуты
Дрель-шуруповерт
Автохимия
Присадки
Промывки
Очистители
Смазки спрей
Смазки пластичные
Герметики
Средство для рук
Клей
Лакокрасочные материалы
Автошампуни
Полироли
Антифриз для тормозной системы
Масло для пропитки фильтров
Антикоррозионные составы
Прочее
Электрооборудование
Зарядные устройства
Инверторы
Конвертеры
Звуковые сигналы
Провода прикуривания
Предохранители
Противотуманные фары
Дневные ходовые огни
Электрика фаркопа
Шины и диски
Автошины
Грузовые шины
Мотошины
Камеры
Мотокамеры
Лента обода шины
Колпаки
Диски
Одежда и экипировка
Жилеты
Запчасти
Аккумуляторы
Лампы
Щетки стеклоочистителя
Гофры глушителя
Велотовары
Велосипеды
Самокаты
Велокамеры
Искать по VIN или номеру детали
Поиск по штрих-коду
Искать по VIN-номеру
Войти
Авторизация
Логин
Пароль
Напомнить пароль
Запомнить
Войти
Зарегистрироваться
Авторизоваться другим способом
Востановить пароль
Введите ваш email:
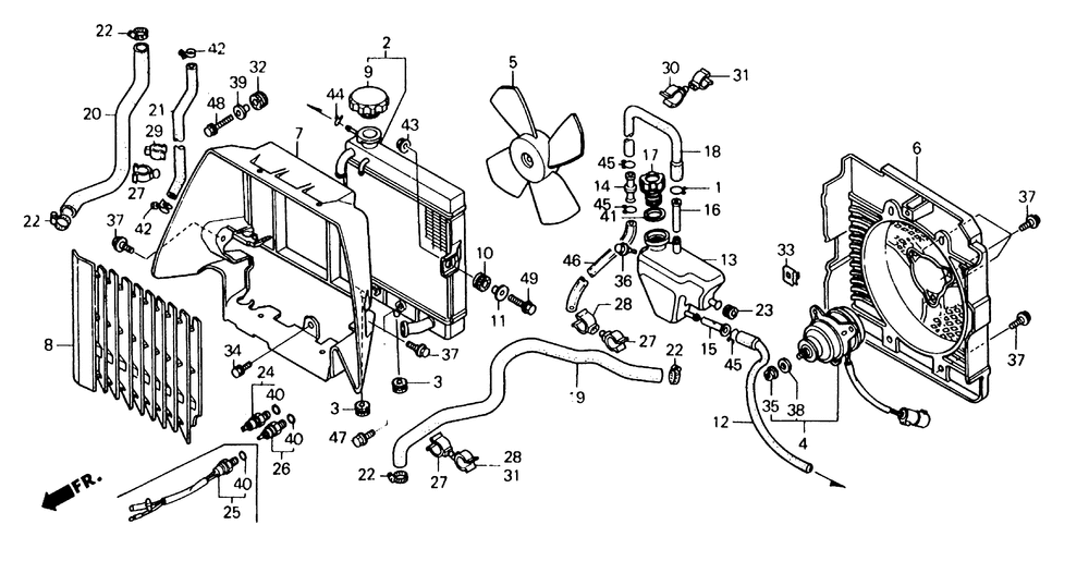
RADIATOR
Корзина пуста
Honda
FL400R
FL400R
RADIATOR
№
Наименование
Примечание
Кол-во
001
CLIP
1
002
RADIATOR COMP
1
003
RUBBER
2
004
MOTOR COOLING FAN
0
005
FAN COOLING
0
006
COVER FAN
0
007
SHROUD *R110* (MONZA RED)
0
008
GRL RADIATOR *NH1* (BLACK)
0
009
CAP RADIATOR
1
010
RUBBER
2
011
COLLAR
2
012
TUBE BREATHER
0
013
TK RADIATOR RESERVE
1
014
JOINT, TUBE
1
015
PIPE JOINT (4.76)
0
016
PIPE JOINT (8.0)
0
017
CAP RESERVE TANK
0
018
TUBE OVERFLOW
0
019
HOSE A WATER
0
020
HOSE B WATER
0
021
HOSE C WATER
0
022
CLAMP B, WATER HOSE
4
023
GROMMET
1
024
SWITCH THERMOSTAT
0
026
SWITCH THERMOSTAT
0
027
CLIP (25)
3
028
CLIP (25F)
1
029
CLIP (10)
0
030
CLIP (20MM)
1
031
CLIP (8.3MM)
2
032
GROMMET, FR. FENDER SETTING
1
033
NUT, FENDER SETTING
1
034
BOLT, FENDER STAY
1
035
NUT HEX. (5MM)
1
036
BOLT, FLANGE (6MM)
1
037
BOLT, FLANGE (6MM)
9
038
WASHER PLAIN (7MM)
1
039
COLLAR BATTERY BOX
1
040
O-RING (13.5X1.4)
2
040
Прокладка впускного коллектора
2
041
O-RING (21.5X3.1)
1
042
CLAMP, TUBE (D12)
2
043
NUT, FLANGE (6MM)
2
044
CLIP, TUBE (B10)
1
045
CLIP, TUBE (B12)
3
046
TUBE (8X12X3000)
0
047
BOLT, FLANGE (6X10)
1
048
BOLT, FLANGE (6X25)
1
049
BOLT FLANGE (6X28)
2