| № | Наименование | Примечание | Кол-во |
|---|---|---|---|
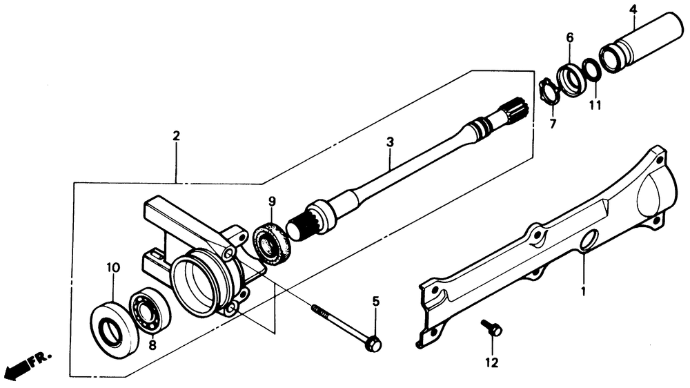
| 001 | CVR FR. DRIVESHAFT | 0 | |
| 002 | HOLDER ASSY. FR. | 0 | |
| 003 | DRIVESHAFT FR. | 1 | |
| 004 | JOINT FR. | 1 | |
| 005 | BOLT UBS (8X115) | 2 | |
| 006 | WASHER (21MM) | 0 | |
| 007 | CIRCLIP (21MM) | 0 | |
| 008 | BEARING (60/22UU) | 0 | |
| 009 | OIL SEAL | 1 | |
| 010 | OIL SEAL (28X55X10) | 0 | |
| 011 | O-RING (2.4X16.5) | 1 | |
| 012 | BOLT, FLANGE (6X12) | 6 |
