| № | Наименование | Примечание | Кол-во |
|---|---|---|---|
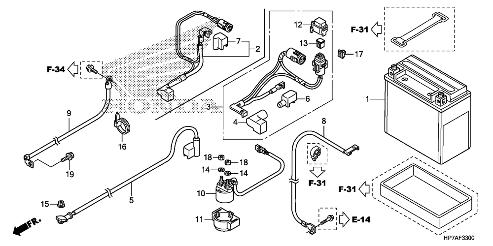
| 001 | BATTERY (YTX14-BS) | 1 | |
| 003 | CABLE RELAY BATTERY | 1 | |
| 004 | COVER | 1 | |
| 005 | CABLE STARTER MOTOR | 1 | |
| 006 | COVER A TERMINAL | 1 | |
| 008 | CABLE | 1 | |
| 009 | CABLE FRAME GROUND | 1 | |
| 010 | SW STARTER MAGNETIC | 1 | |
| 011 | RUB MAGNETIC SHOCK | 1 | |
| 012 | COVER, FUSE (40A) | 1 | |
| 013 | FUSE, BLOCK (40A) | 1 | |
| 014 | WASHER SPRING (6MM) | 2 | |
| 015 | NUT-WASHER (6MM) | 1 | |
| 016 | BAND, WIRE (165MM) (BLACK) | 1 | |
| 017 | CLIP, CONNECTOR | 1 | |
| 018 | NUT HEX. (6MM) | 2 | |
| 019 | BOLT, FLANGE (6X14) | 1 |
