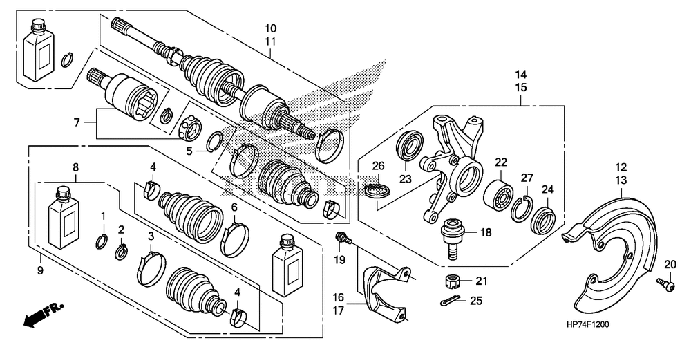
FRONT KNUCKLE@DRIVESHAFT

Корзина пуста