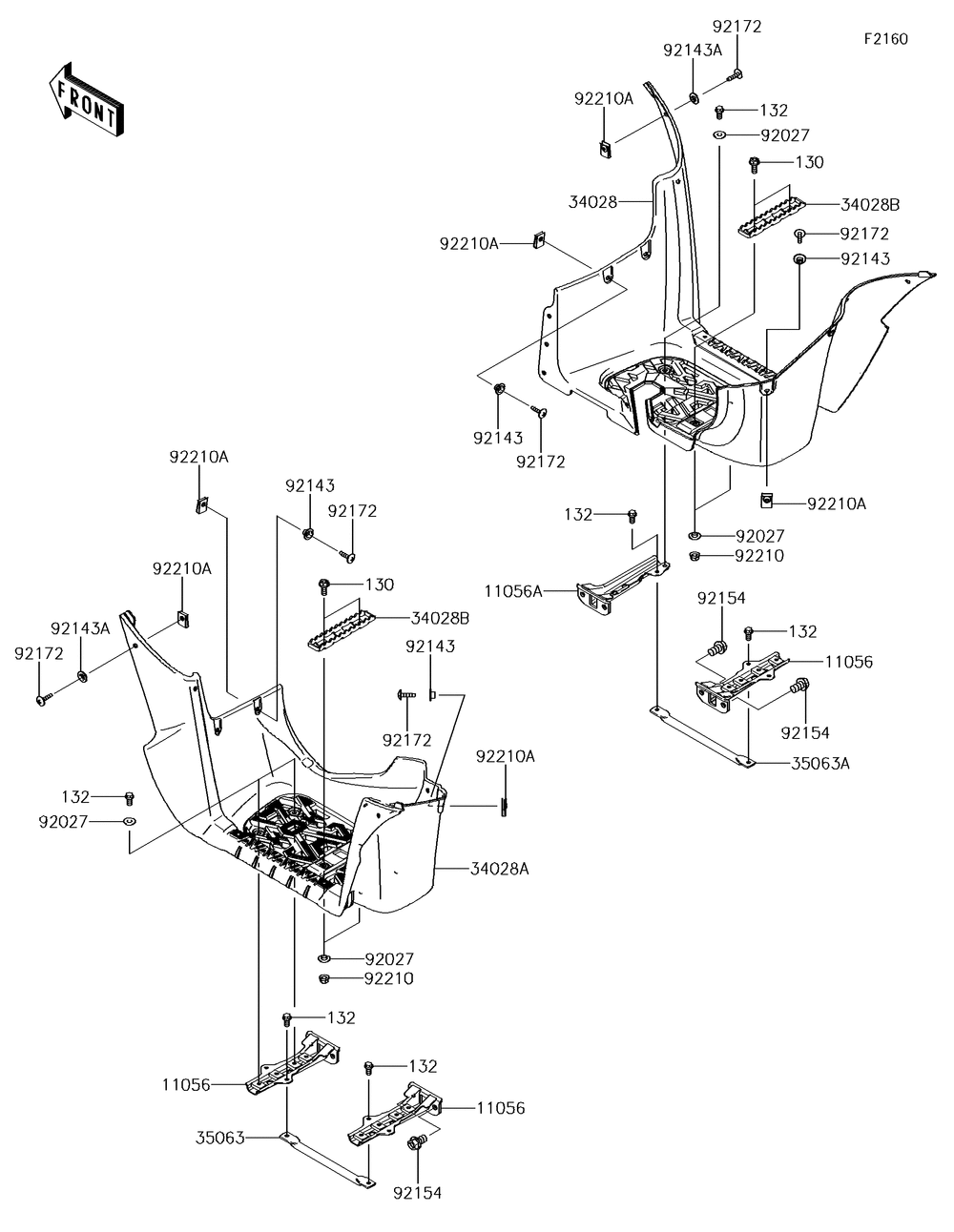
| № | Наименование | Примечание | Кол-во |
|---|---|---|---|
| 130 | BOLT-FLANGED6X16 | 4 | |
| 132 | BOLT-FLANGED-SMALL6X | 11 | |
| 11056 | BRACKETFOOT BOARD | 3 | |
| 11056A | BRACKETFOOT BOARD | 1 | |
| 34028 | STEPFOOT BOARDRHF. | 1 | |
| 34028A | STEPFOOT BOARDLHF. | 1 | |
| 34028B | STEPFOOT PEGF.BLACK | 2 | |
| 35063 | STAYSTEPLH | 1 | |
| 35063A | STAYSTERRH | 1 | |
| 92027 | COLLARL=5 | 11 | |
| 92143 | COLLAR | 4 | |
| 92143A | COLLAR | 13 | |
| 92154 | BOLTFLANGED10X16 | 8 | |
| 92172 | SCREWTAPPING6X20 | 17 | |
| 92210 | NUTLOCKFLANGED6MM | 4 | |
| 92210A | NUTLEAF SPRING6MM | 17 |
