| № | Наименование | Примечание | Кол-во |
|---|---|---|---|
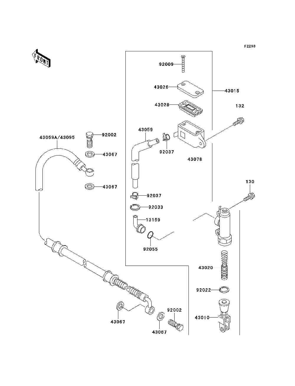
| 130 | BOLT-FLANGED | 2 | |
| 132 | BOLT-FLANGED-SMALL6X | 1 | |
| 13159 | CONNECTORRR MASTER C | 1 | |
| 43010 | ROD-ASSY-BRAKERR | 1 | |
| 43015 | CYLINDER-ASSY-MASTER | 1 | |
| 43020 | PISTON-COMP-BRAKE | 1 | |
| 43026 | CAP-BRAKE | 1 | |
| 43028 | DIAPHRAGM | 1 | |
| 43059 | HOSE-BRAKERR MASTER | 1 | |
| 43059A | HOSE-BRAKERR | 1 | |
| 43067 | WASHER-SEAL10.1X14.5 | 4 | |
| 43078 | RESERVOIR | 1 | |
| 92002 | BOLTOILL=23 | 2 | |
| 92009 | SCREW | 2 | |
| 92022 | RING-SNAP20.9X24.6X1 | 1 | |
| 92033 | RING-SNAP20.5MM | 1 | |
| 92037 | CLAMP | 2 | |
| 92055 | RING-O14.8X2.4 | 1 |
