| № | Наименование | Примечание | Кол-во |
|---|---|---|---|
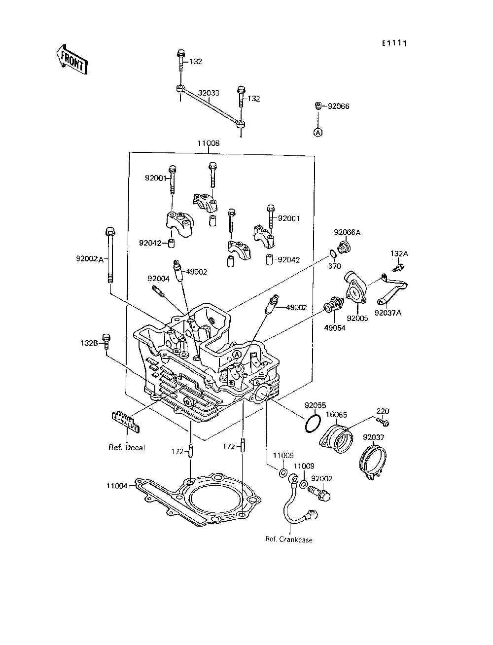
| 132 | BOLT-FLANGED-SMALL6X | 2 | |
| 132A | BOLT-FLANGED-SMALL6X | 3 | |
| 132B | BOLT-FLANGED-SMALL6X | 2 | |
| 172 | BOLT-STUD8X22 | 2 | |
| 220 | SCREW-PAN-CROS6X12 | 2 | |
| 670 | "0" RING20MM | 1 | |
| 11004 | GASKET-HEAD | 1 | |
| 11008 | HEAD-COMP-CYLINDER | 1 | |
| 11009 | GASKET10X14.5X1.5 | 2 | |
| 16065 | HOLDER-CARBURETOR | 1 | |
| 32033 | PIPEOIL | 1 | |
| 49002 | GUIDE-VALVE | 4 | |
| 49054 | THERMOSTAT | 1 | |
| 92001 | BOLT6X46 | 8 | |
| 92002 | BOLTBANJO10X25 | 1 | |
| 92002A | BOLTL=162 | 4 | |
| 92004 | STUD | 2 | |
| 92005 | FITTING | 1 | |
| 92037 | CLAMPID=53BLACK | 1 | |
| 92037A | CLAMP | 1 | |
| 92042 | PIN-DOWEL | 8 | |
| 92055 | RING-O | 1 | |
| 92066 | PLUGOIL LINE1/8X7 | 1 | |
| 92066A | PLUG | 1 |
