| № | Наименование | Примечание | Кол-во |
|---|---|---|---|
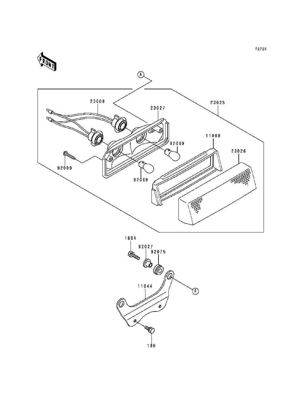
| 180 | BOLT-UPSET-WS | 2 | |
| 180A | BOLT-UPSET-WS | 2 | |
| 11009 | GASKETTAIL LAMP | 1 | |
| 11044 | BRACKETTAIL LAMP | 1 | |
| 23008 | SOCKET-ASSYTAIL LAMP CAUS | 1 | |
| 23025 | LAMP-TAIL CAUS | 1 | |
| 23026 | LENSTAIL LAMP | 1 | |
| 23027 | BODY-COMP-TAIL LAMP CAUS | 1 | |
| 92009 | SCREWTAPPING | 2 | |
| 92027 | COLLARL=11.1 | 2 | |
| 92069 | BULB12V 4CP | 2 | |
| 92075 | DAMPER RUBBER | 2 |
