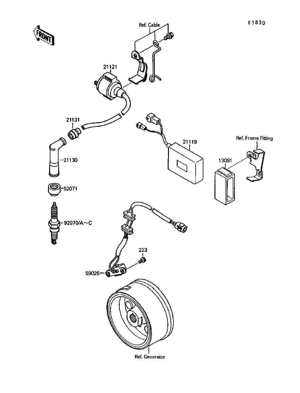
Ignition Coil

Корзина пуста
Наименование Примечание Кол-во
223 SCREW-PAN-WS-CROS5X1 2
13091 HOLDERIGNITER 1
21119 IGNITER 1
21121 COIL-IGNITION 1
21130 CAP-SPARK PLUG 1
21131 GROMMETHIGH TENSION 1
59026 COIL-PULSING 1
92071 GROMMETPLUG CAP 1