| № | Наименование | Примечание | Кол-во |
|---|---|---|---|
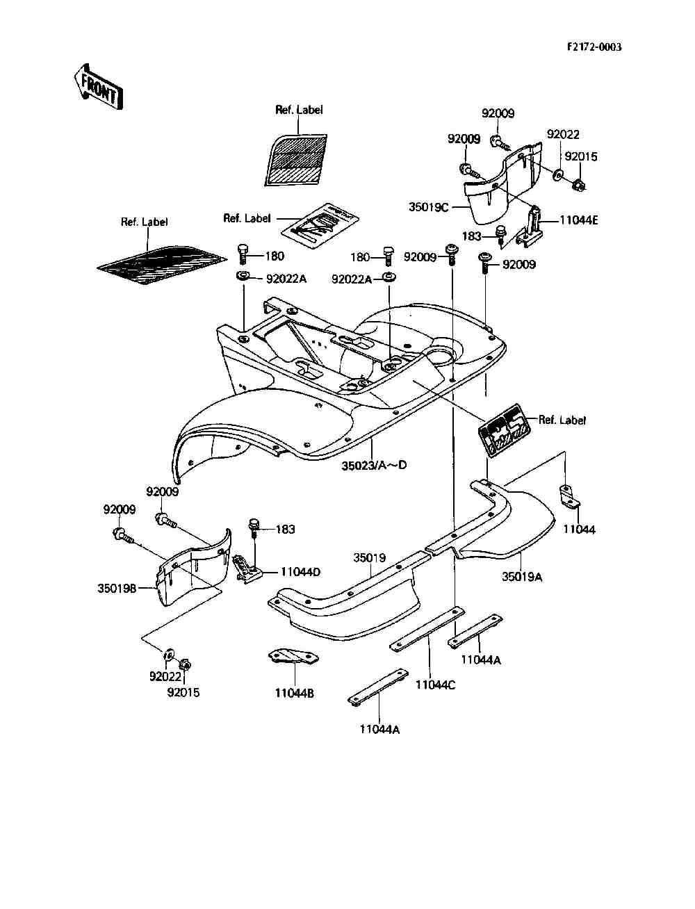
| 180 | BOLT-UPSET-WS | 4 | |
| 183 | BOLT-UPSET-WS-SMALL | 2 | |
| 11044 | BRACKETRR FLAPRH | 1 | |
| 11044A | BRACKETRR FLAP | 2 | |
| 11044B | BRACKETRR FLAPLH | 1 | |
| 11044C | BRACKETRR FLAP | 1 | |
| 11044D | BRACKETFLAPLH | 1 | |
| 11044E | BRACKETFLAPRH | 1 | |
| 35019 | FLAPRRLH | 1 | |
| 35019A | FLAPRRRH | 1 | |
| 35019B | FLAPLH | 1 | |
| 35019C | FLAPRH | 1 | |
| 35023A | FENDER-REARP.WHITE | 1 | |
| 92009 | SCREW | 12 | |
| 92015 | NUTLOCK6MM | 2 | |
| 92022 | WASHER 6.5X20X1.6T | 2 | |
| 92022A | WASHERPLAIN7MM | 4 |
