| № | Наименование | Примечание | Кол-во |
|---|---|---|---|
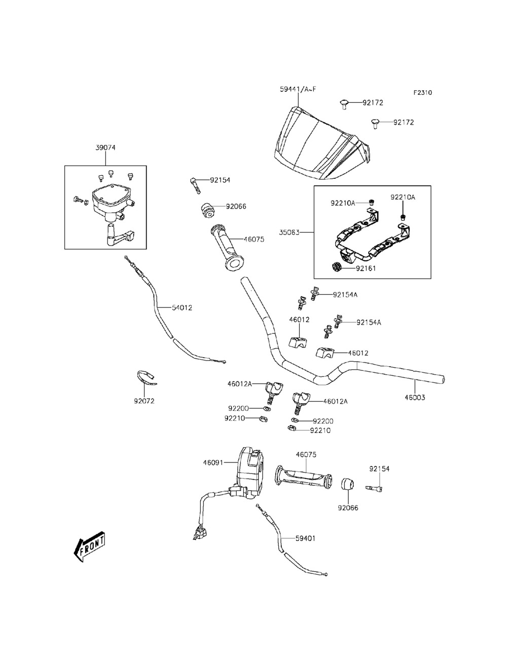
| 35063 | STAYHANDLE COVER | 1 | |
| 39074 | LEVER-ASSY-THROTTLE | 1 | |
| 46003 | HANDLEBLACK | 1 | |
| 46012 | HOLDER-HANDLEUPP | 2 | |
| 46012A | HOLDER-HANDLELWR | 2 | |
| 46075 | GRIP | 2 | |
| 46091 | HOUSING-ASSY-CONTROL | 1 | |
| 54012 | CABLE-THROTTLE | 1 | |
| 59401 | CABLE-CHOKE | 1 | |
| 59441E | COVER-HANDLEF.RED | 1 | |
| 59441F | COVER-HANDLEV.BLUE | 1 | |
| 92066 | PLUGHANDLE | 2 | |
| 92072 | BAND | 1 | |
| 92154 | BOLT8MM | 2 | |
| 92154A | BOLT8X35 | 4 | |
| 92161 | DAMPER | 1 | |
| 92172 | SCREW | 2 | |
| 92200 | WASHER10MM | 2 | |
| 92210 | NUT10MM | 2 | |
| 92210A | NUT5MM | 2 |
