| № | Наименование | Примечание | Кол-во |
|---|---|---|---|
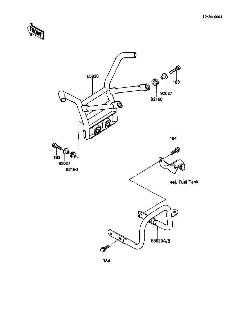
| 183 | BOLT-UPSET-WS-SMALL | 4 | |
| 184 | BOLT-UPSET-WP-SMALL | 4 | |
| 55020 | GUARDFR | 1 | |
| 55020A | GUARDRR | 1 | |
| 92027 | COLLAR | 4 | |
| 92160 | DAMPER | 4 |
| Корзина пуста |
| № | Наименование | Примечание | Кол-во |
|---|---|---|---|
| 183 | BOLT-UPSET-WS-SMALL | 4 | |
| 184 | BOLT-UPSET-WP-SMALL | 4 | |
| 55020 | GUARDFR | 1 | |
| 55020A | GUARDRR | 1 | |
| 92027 | COLLAR | 4 | |
| 92160 | DAMPER | 4 |