| № | Наименование | Примечание | Кол-во |
|---|---|---|---|
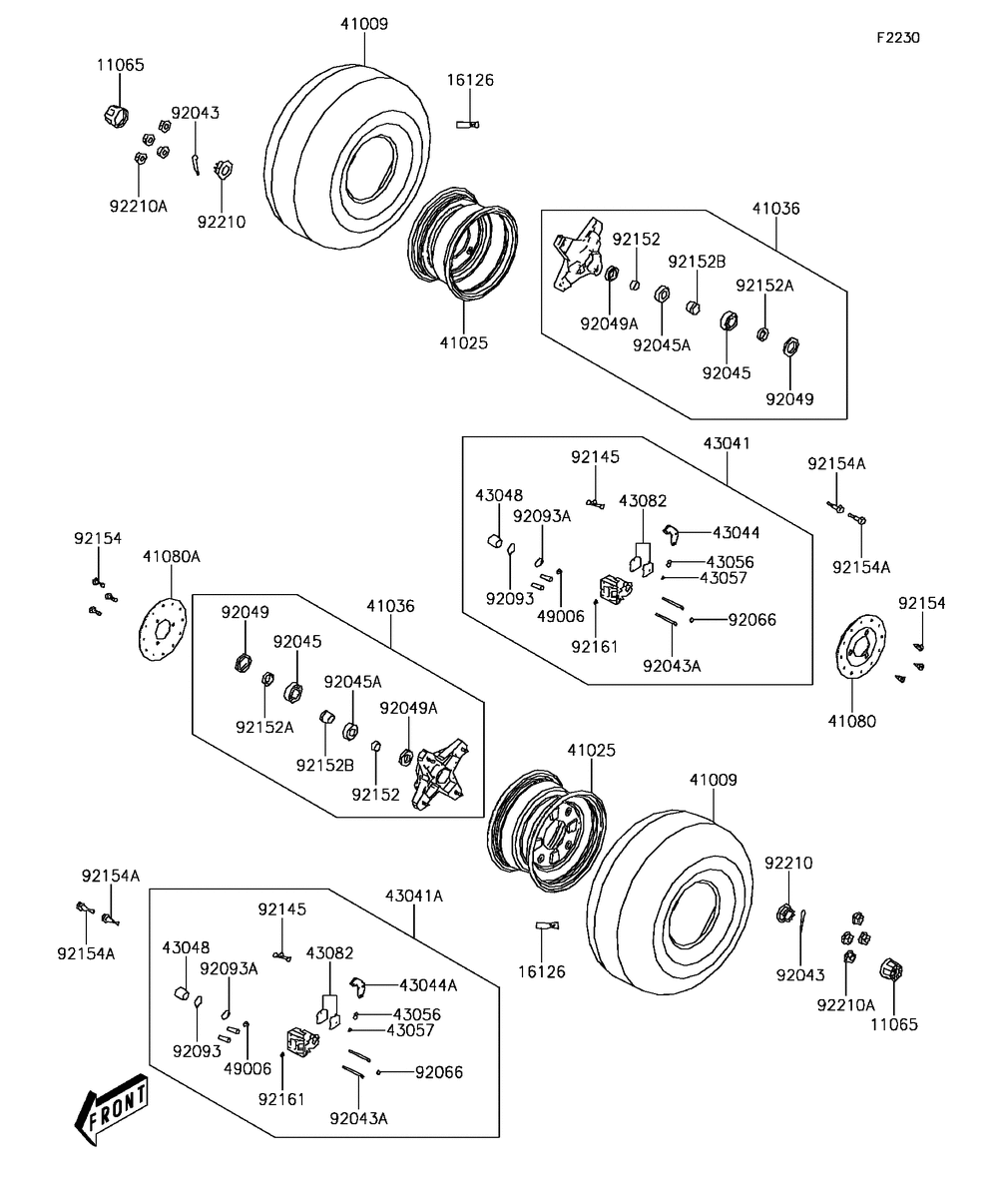
| 11065 | CAPWHEEL | 2 | |
| 16126 | VALVERIM | 2 | |
| 41009 | TIREFR | 2 | |
| 41025 | RIMFRBLACK | 2 | |
| 41080 | DISCFRRH | 1 | |
| 41080A | DISC | 1 | |
| 43044 | HOLDER-COMP-CALIPERF | 1 | |
| 43044A | HOLDER-COMP-CALIPERFRLH | 1 | |
| 43048 | PISTON-CALIPER | 2 | |
| 43056 | BREATHER-BRAKE | 2 | |
| 43057 | CAP-BREATHER | 2 | |
| 49006 | BOOTCALIPER | 2 | |
| 92043 | PIN3X25 | 2 | |
| 92043A | PINHANGER | 4 | |
| 92045 | BEARING-BALL6004 | 2 | |
| 92045A | BEARING-BALL6202 | 2 | |
| 92049 | SEAL-OIL28X42X7 | 2 | |
| 92049A | SEAL-OIL20X35X7 | 2 | |
| 92066 | PLUG | 2 | |
| 92093 | SEALDUST | 2 | |
| 92093A | SEALPISTON | 2 | |
| 92145 | SPRINGPAD | 2 | |
| 92152 | COLLAR | 2 | |
| 92152A | COLLAR | 2 | |
| 92152B | COLLAR | 2 | |
| 92154 | BOLT8X24 | 6 | |
| 92154A | BOLTFLANGE8X20 | 4 | |
| 92161 | DAMPER | 2 | |
| 92210 | NUT14MM | 2 | |
| 92210A | NUT 10MM | 8 |
