| № | Наименование | Примечание | Кол-во |
|---|---|---|---|
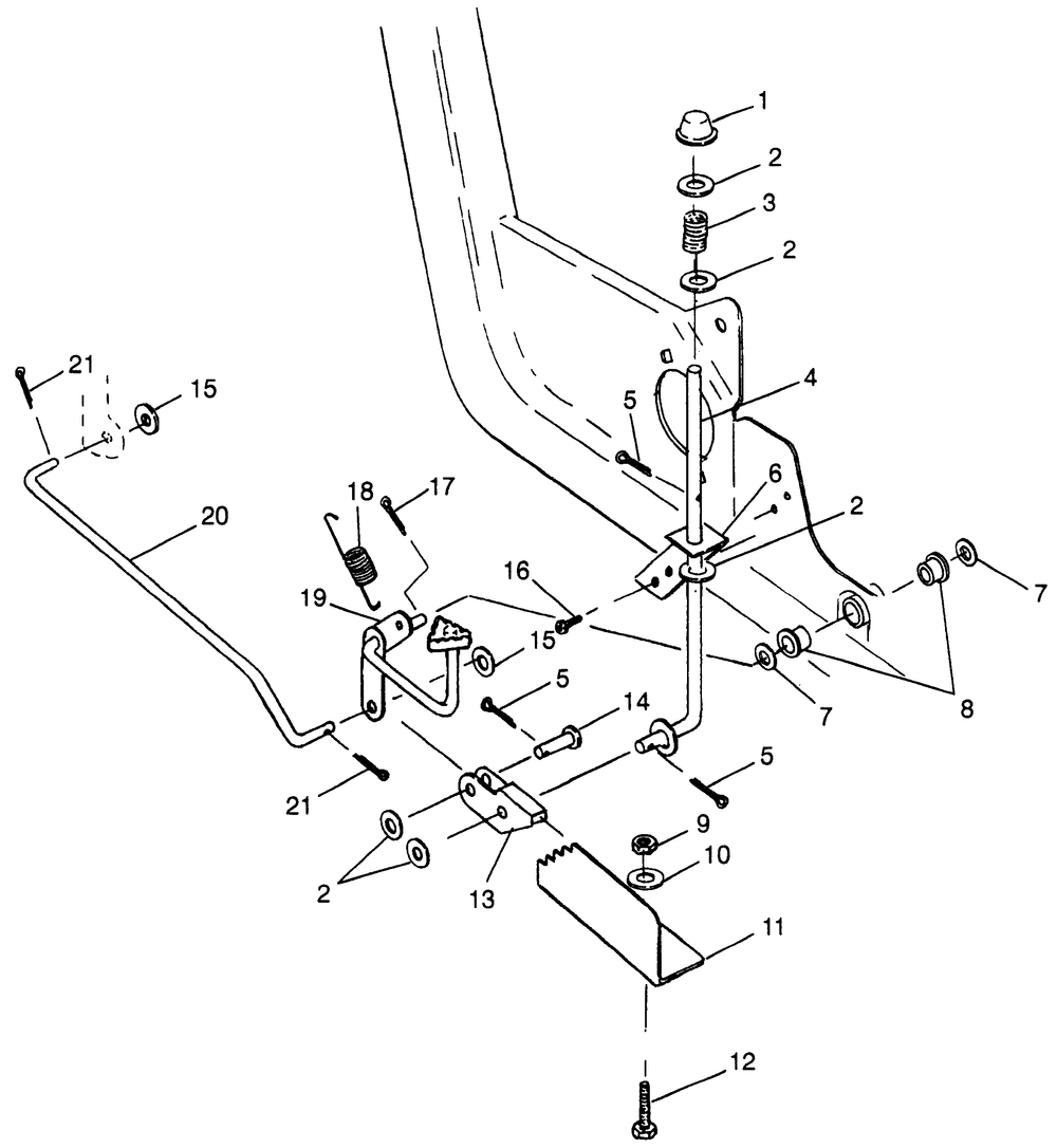
| BRAKELOCK ASM(SWED)W/FOOT BRK (Incl. 2-581314) | 0 | ||
| 2 | WASHER FLAT | 8 | |
| 5 | PIN COTTER | 3 | |
| 7 | WASHER | 2 | |
| 8 | BUSHING PEDAL PIVOT | 2 | |
| 9 | NUT-NYLOK(10) (10 per pack) | 2 | |
| 10 | WASHERWROUGHT | 2 | |
| 12 | BOLT | 2 | |
| 15 | WASHERFLAT(10) (10 per pack) | 2 | |
| 16 | SCREW | 2 | |
| 17 | PINCOTTER(10) (10 per pack) | 1 | |
| 18 | SPRING(10) (10 per pack) | 1 | |
| 19 | FOOTBRAKEBLK. | 1 | |
| 20 | ROD BRAKE | 1 | |
| 21 | PINCOTTER(10) (10 per pack) | 2 |
