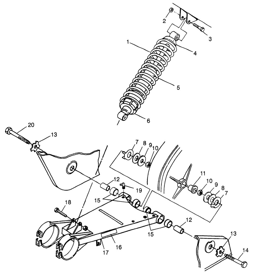
| № | Наименование | Примечание | Кол-во |
|---|---|---|---|
| 1 | SUBSTITUTED BY 9999999 | 1 | |
| 2 | NUTNYLOK(10) (10 per pack) | 2 | |
| 3 | SCREW(10) (10 per pack) | 1 | |
| 4 | RETAINER-TOP | 1 | |
| 5 | SHOCK | 1 | |
| 6 | RETAINERSPRING | 1 | |
| 7 | BUSHING | 2 | |
| 8 | BUSHING-THRUST | 2 | |
| 9 | WASHER(10) (10 per pack) | 2 | |
| 10 | NUT LOCK(10) * (10 per pack) | 2 | |
| 12 | BUSHINGSWING ARM(10) (10 per pack) | 2 | |
| 13 | PLATEBOLT LOCK | 2 | |
| 15 | BUSHING-SWINGARM | 4 | |
| 17 | ARM ASMSWING | 1 | |
| 18 | BOLT | 1 | |
| 19 | FITTING LUBE. | 2 | |
| 20 | BOLT SHOULDER | 1 |
