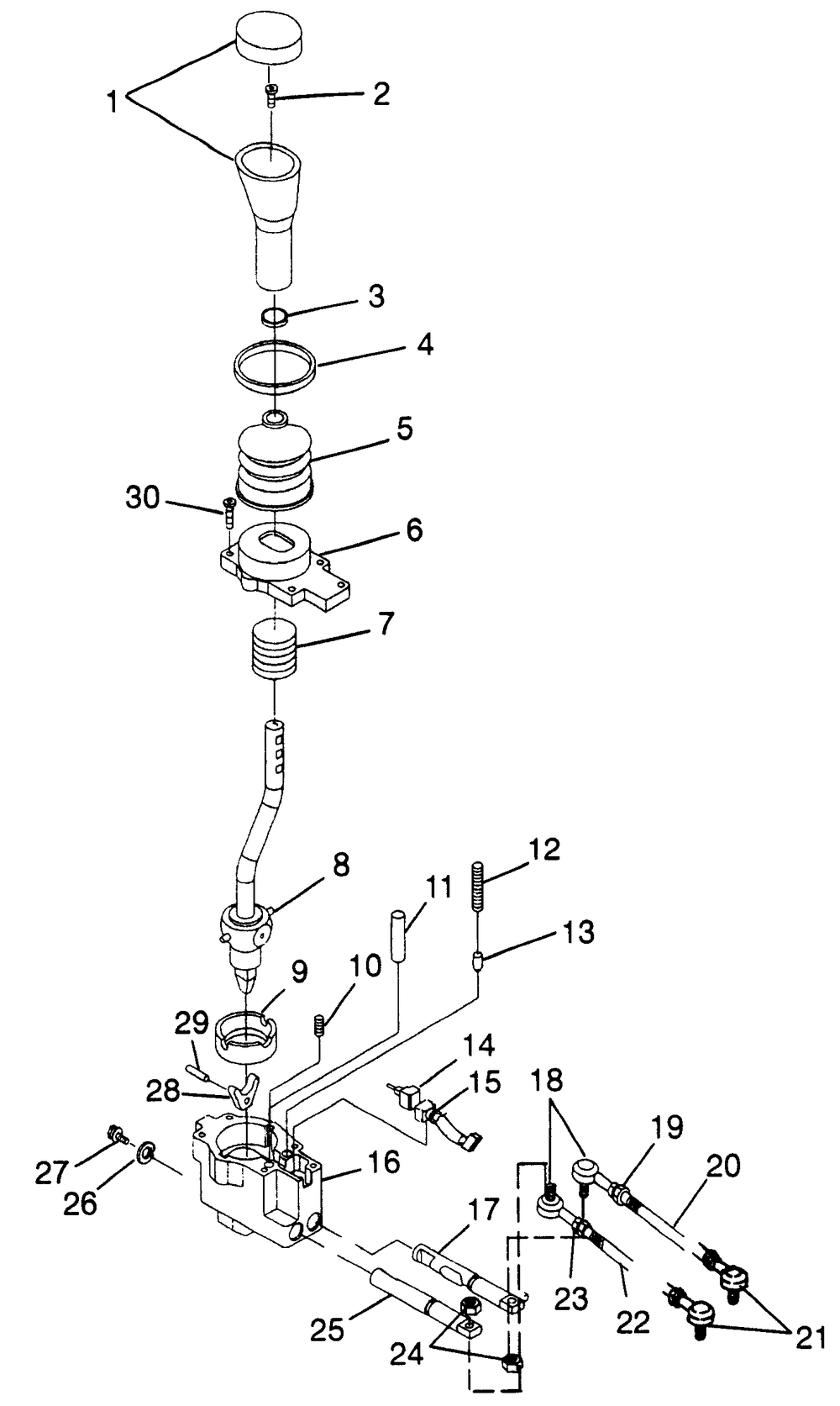
| № | Наименование | Примечание | Кол-во |
|---|---|---|---|
| SUBSTITUTED BY 9990000 (US) (Incl. 1-1725-30) | 0 | ||
| SUBSTITUTED BY 9990000 (NOR) (Incl. 1-172528-30) | 0 | ||
| 1 | GEAR SELECT KNOBHLRBLACKASM. | 1 | |
| 2 | SCREW | 1 | |
| 3 | STRAP WIRE | 1 | |
| 4 | CLAMP | 1 | |
| 5 | BOOTGEAR SELECTOR | 1 | |
| 7 | SPRINGHOLDING | 1 | |
| 9 | CUPBEARING | 1 | |
| 10 | SPRINGCENTERING | 1 | |
| 11 | PIN STOP | 1 | |
| 12 | SPRINGDETENT | 2 | |
| 13 | BULLETDETENT | 2 | |
| 14 | SWGEARSELECTW/THRM.JKT. | 1 | |
| 15 | STRAP WIRE | 1 | |
| 18 | ROD ENDRH6MM. | 2 | |
| 19 | NUT(10) (10 per pack) | 2 | |
| 20 | SHIFTRODLINKAGELOW RANGE | 1 | |
| 21 | ROD ENDLH6MM. | 2 | |
| 22 | SHIFTRODLINKAGEHIGH RANGE | 1 | |
| 23 | NUT(10) (10 per pack) | 2 | |
| 24 | NUTNYLOK(10) (10 per pack) | 4 | |
| 25 | SLIDELOW | 1 | |
| 26 | WASHER FLAT(10) * (10 per pack) | 1 | |
| 27 | SCREW (Euro) | 3 | |
| 28 | INTERLOCKBUTTERFLY | 1 | |
| 29 | PININTERLOCK | 1 | |
| 30 | SCREWMAGNIGARD COATED | 5 |
