| № | Наименование | Примечание | Кол-во |
|---|---|---|---|
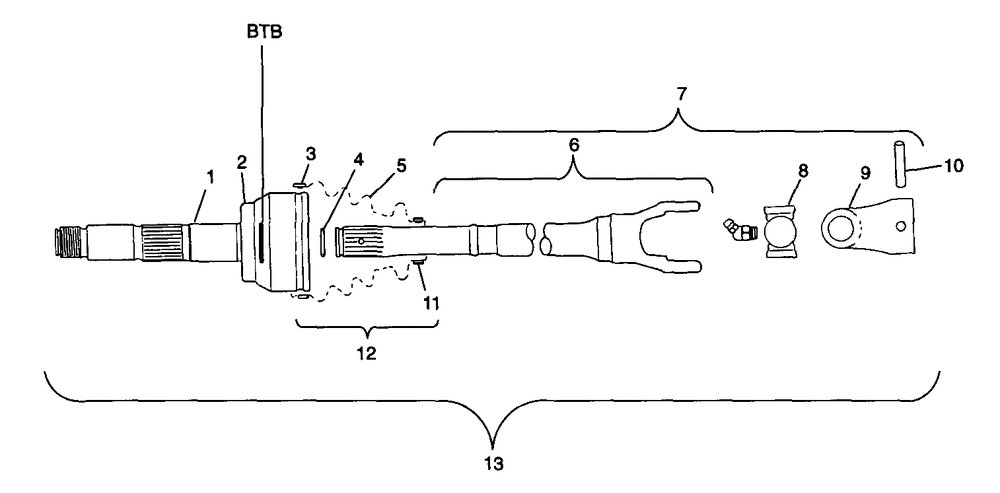
| 1 | HSG.ASMCVW/SLVBTB-GKN | 2 | |
| 2 | SLEEVE SEAL | 1 | |
| 3 | CLAMP LARGE | 1 | |
| 5 | BOOT CV JOINT | 1 | |
| 6 | KITDRIVESHAFTW/SLVFRONT-NEAP [Incl. 4] | 1 | |
| 7 | KITDRIVESHAFTW/SLVFRONT-NEAP [Incl. 4689] | 1 | |
| 8 | KITCROSS&BEARING (AC Only) | 1 | |
| 9 | YOKE SPLINED | 1 | |
| 10 | PINSPRING(10) (10 per pack) | 3 | |
| 11 | CLAMP BAND | 1 | |
| 12 | KITBOOTCV JOINTBTB [Incl. 3511] | 1 | |
| 13 | KITDRIVESHAFTW/SLVFRONT-NEAP | 1 |
