| № | Наименование | Примечание | Кол-во |
|---|---|---|---|
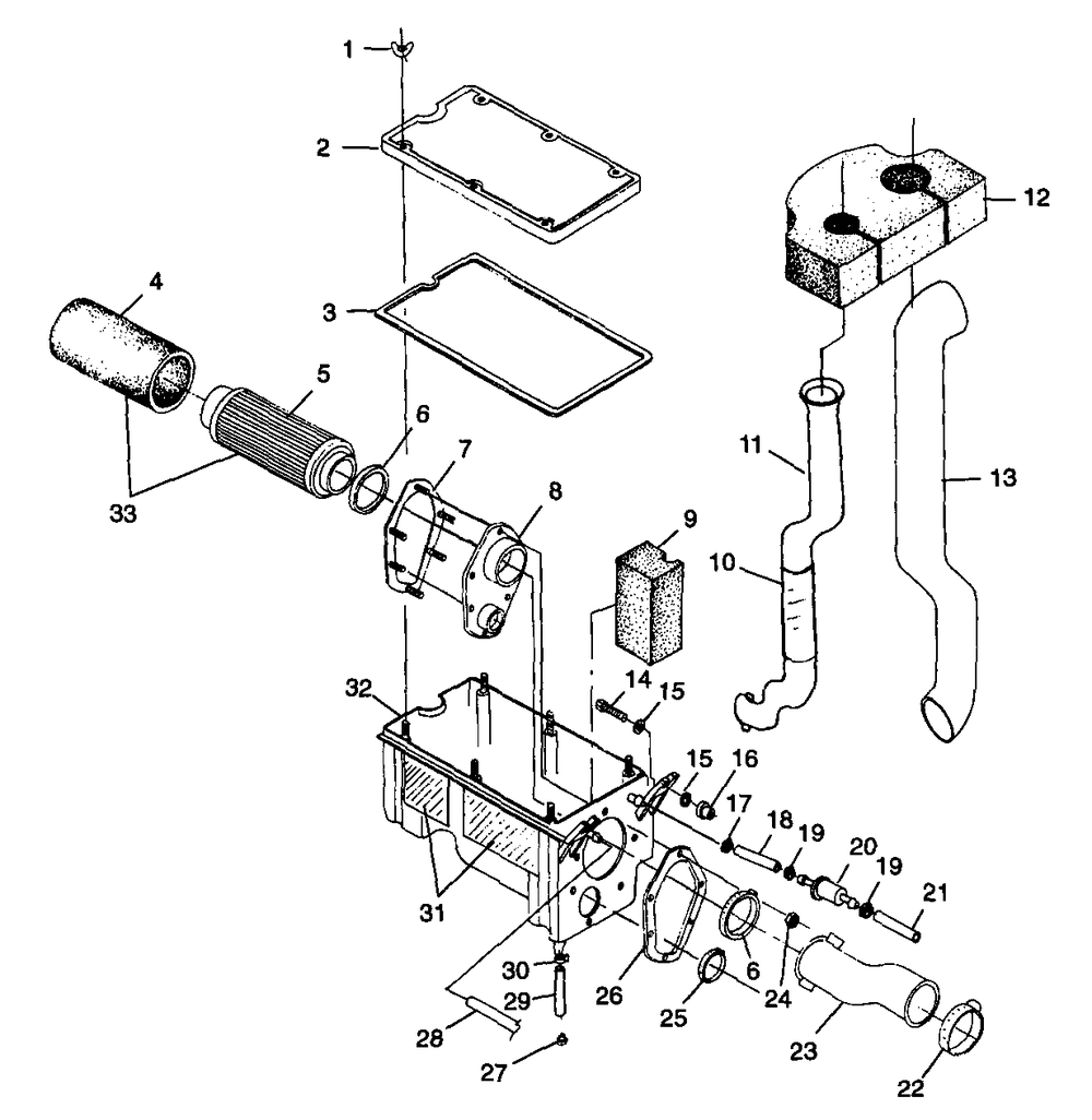
| 1 | NUTWING(10) (10 per pack) | 6 | |
| 3 | SEALCOVERAIR INTAKE | 1 | |
| 4 | FOAM FILTER | 1 | |
| 5 | FILTER-AIR INTAKE | 1 | |
| 6 | CLAMPBANDNARROW (10) (10 per pack) | 2 | |
| 10 | FOIL-TAPE | 1 | |
| 14 | SCREW(10) * (10 per pack) | 2 | |
| 15 | WASHER FLAT(10) (10 per pack) | 4 | |
| 17 | CLAMPHOSE | 1 | |
| 19 | CLAMPHOSE | 2 | |
| 20 | FILTERBREATHERIN LINE | 1 | |
| 21 | HOSEBREATHER(50.5 CM.) | 1 | |
| 22 | CLAMP NARROW BAND | 1 | |
| 24 | NUT NYLOK 10-24 Y | 6 | |
| 25 | CLAMPHOSE S.S. | 1 | |
| 26 | PLATEAIRBOX RETAINERZINC | 1 | |
| 27 | PLUG TRAP | 1 | |
| 29 | FUEL LINE | 0 | |
| 30 | CLAMPHOSE | 1 | |
| 32 | BOXAIR INTAKE* | 1 | |
| 33 | FILTER ASM AIR | 1 |
