| № | Наименование | Примечание | Кол-во |
|---|---|---|---|
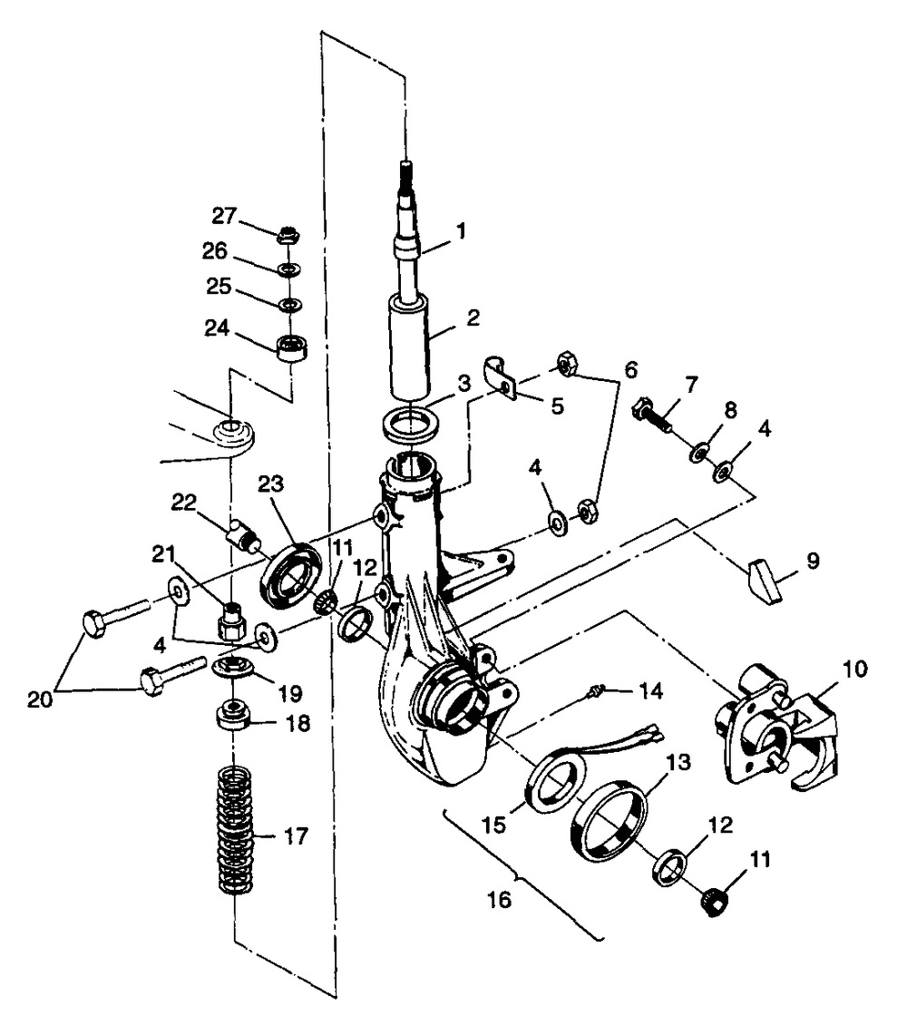
| 1 | BUMPER-MCU19.1MM ID | 2 | |
| 2 | STRUTKITFRONT SACHSST | 2 | |
| 3 | WASHER(10) (10 per pack) | 2 | |
| 4 | WASHERFLAT(10) (10 per pack) | 10 | |
| 5 | CLAMPRUBBER-COATED.562 | 2 | |
| 6 | NUT FLEX-LOC | 4 | |
| 7 | SCREW CAP(10) (10 per pack) | 4 | |
| 8 | WASHERSPRING LOCK(10) (10 per pack) | 4 | |
| 11 | BEARINGTAPERED ROLLER | 4 | |
| 12 | BRGTAPERROLL CUP | 4 | |
| 13 | SLEEVESTRUT HUB SEAL | 2 | |
| 14 | FITTINGLUBE.W/BALL CK.(10) (10 per pack) | 2 | |
| 15 | HUB/COIL(KIT) | 2 | |
| 16 | HUBSTRUTSVCBRN/WHT42LH (Incl. 8 12-15) | 1 | |
| 16 | HUBSTRUTSVCBRN/WHT42RH (Incl. 8 12-15) | 1 | |
| 17 | SPRING-COMP64-113tahos_11.6BLK (AB)(If built before 10/01/03) | 2 | |
| 19 | PIVOTBALLBOTTOM | 2 | |
| 20 | BOLT [Pro X] | 4 | |
| 21 | SPACERTHREADED | 2 | |
| 23 | SEAL HUB STRUT | 2 | |
| 24 | PIVOTBALLTOP | 2 | |
| 25 | SPACER RUBBER (10) (10 per pack) | 2 | |
| 26 | WASHER(10) (10 per pack) | 2 | |
| 27 | NUTFLEX LOC(10) (10 per pack) | 2 |
