| № | Наименование | Примечание | Кол-во |
|---|---|---|---|
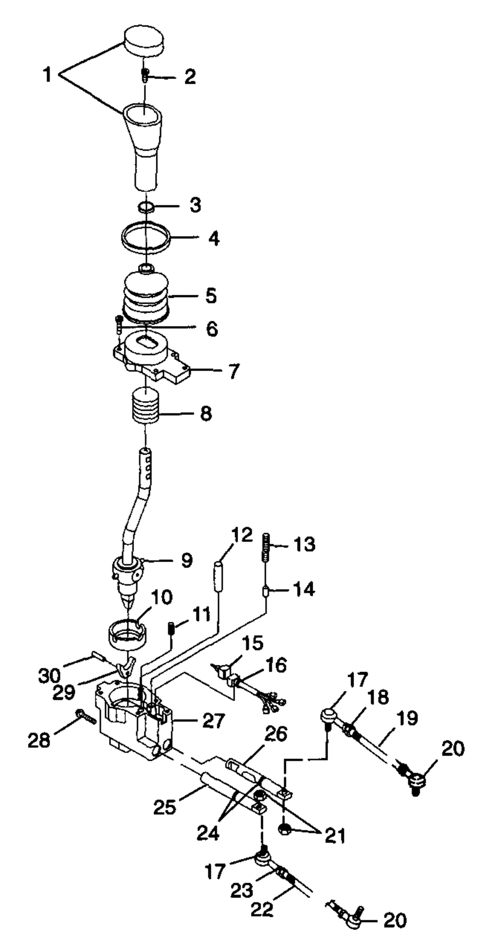
| 1 | GEAR SELECT KNOBHLRBLACKASM. | 1 | |
| 2 | SCREW | 1 | |
| 3 | STRAP WIRE | 1 | |
| 4 | CLAMP | 1 | |
| 5 | BOOTGEAR SELECTOR | 1 | |
| 6 | SCREWMAGNIGARD COATED | 5 | |
| 8 | SPRINGHOLDING | 1 | |
| 10 | CUPBEARING | 1 | |
| 11 | SPRINGCENTERING | 1 | |
| 12 | PIN STOP | 1 | |
| 13 | SPRINGDETENT | 2 | |
| 14 | BULLETDETENT | 2 | |
| 15 | SWITCH | 1 | |
| 16 | STRAP WIRE | 1 | |
| 17 | ROD ENDRH6MM. | 2 | |
| 18 | NUT(10) (10 per pack) | 2 | |
| 19 | ROD-SHIFT LINKAGEHI RANGE | 1 | |
| 20 | ROD ENDLH6MM. | 2 | |
| 21 | NUTNYLOK(10) (10 per pack) | 4 | |
| 22 | RODSHIFT LINKAGELOW RANGE | 1 | |
| 23 | NUT(10) (10 per pack) | 2 | |
| 24 | O-RING | 2 | |
| 28 | SCREW (Euro) | 3 | |
| 29 | INTERLOCKBUTTERFLY | 1 | |
| 30 | PININTERLOCK | 1 |
