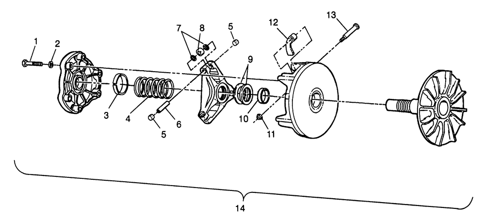
| № | Наименование | Примечание | Кол-во |
|---|---|---|---|
| 1 | BOLT | 6 | |
| 2 | WASHER SPRING LOCK(10) (10 per pack) | 6 | |
| 3 | BEARING COVER(10) (10 per pack) | 1 | |
| 4 | SPRINGCLUTCH BLU/GRN | 1 | |
| 5 | BUTTONCLUTCHRUBBER BACKED(10) (10 per pack) | 6 | |
| 6 | PIN-ROLLER(10) (10 per pack) | 3 | |
| 7 | WASHER(10) (10 per pack) | 6 | |
| 8 | ROLLER/BUSHING ASM.(3) ** (3 per pack) | 3 | |
| 9 | SPACER.020(10) (10 per pack) | 0 | |
| 9 | SPACER.032 | 0 | |
| 9 | SPACER.050 | 0 | |
| 10 | BUSHINGMOVEABLE1/2 INCH | 1 | |
| 11 | NUT FLEXLOC(10) (10 per pack) | 3 | |
| 12 | WEIGHT SHIFT S-55 (3) [S-55] (3 per pack) | 3 | |
| 13 | BOLTSHOULDER(10) (10 per pack) | 3 | |
| 14 | ASM-DRIVE CLUTCHWIDE [Incl. All Less 48] | 1 |
