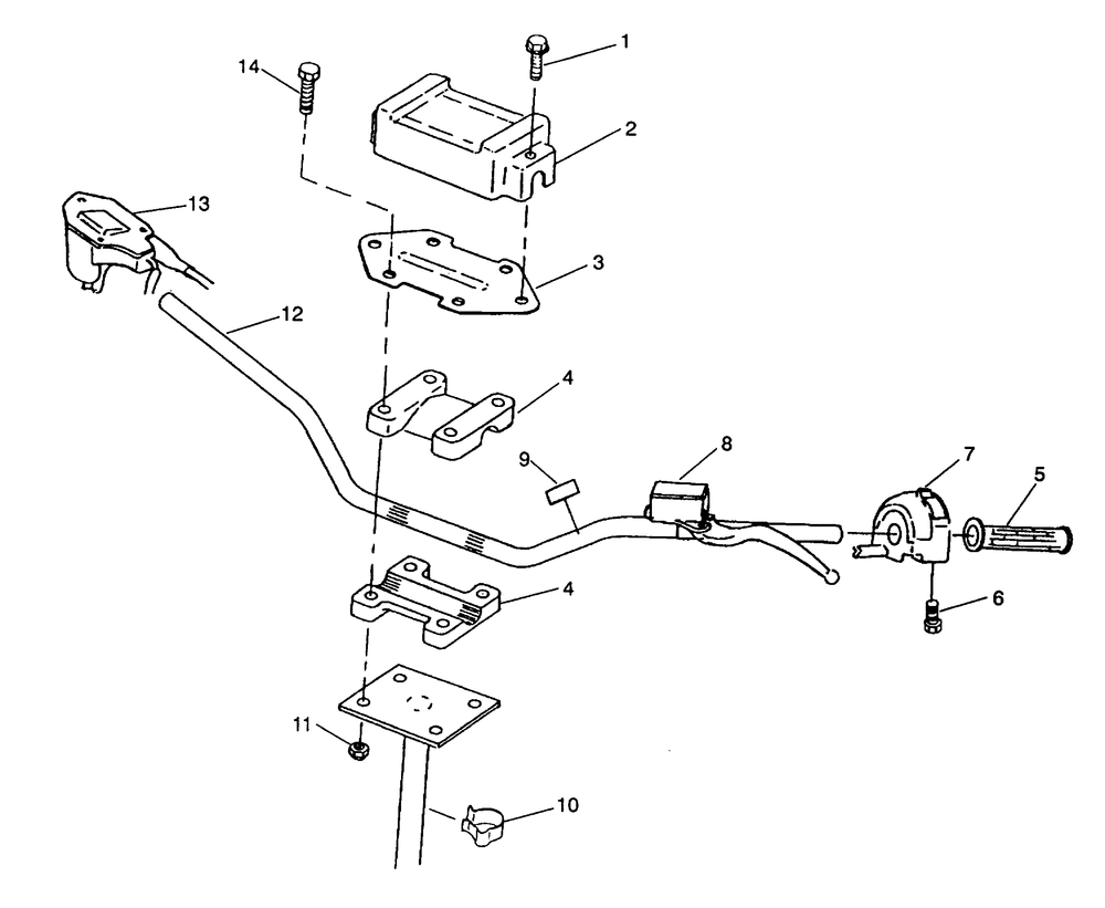
| № | Наименование | Примечание | Кол-во |
|---|---|---|---|
| 1 | SCREW(10) * (10 per pack) | 2 | |
| 2 | PAD HANDLEBAR | 1 | |
| 3 | MOUNT-HANDLEBAR PAD | 1 | |
| 4 | BLOCKHANDLEBARBLK | 1 | |
| 5 | GRIP-HNDLBAR7/8 IDBLACK | 2 | |
| 6 | SCREW | 2 | |
| 8 | MASTER CYLINDER (US) | 1 | |
| 10 | CLIP | 1 | |
| 11 | NUT-NYLOK(10) (10 per pack) | 4 | |
| 12 | TUBEHANDLEBARBLK | 1 | |
| 14 | BOLT | 4 |
