| № | Наименование | Примечание | Кол-во |
|---|---|---|---|
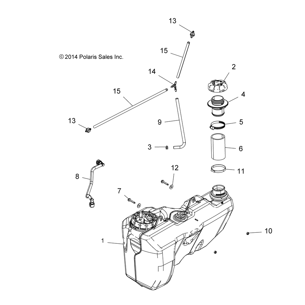
| 1 | K-FUEL PUMP [INCL. PUMP ASM. GASKET NUT INSTRUCTIONS ]FOR USE WITH 2521484 ONLY | 1 | |
| 1 | ASM-FUEL TANK W/PUMP4 BAR [INCL. PUMP][TO 12/5/2016] | 1 | |
| 2 | CAP-GAS TANK | 1 | |
| 3 | CLAMP-HOSE | 1 | |
| 4 | INLET-FUEL | 1 | |
| 5 | CLAMPBANDNARROW (10) (10 per pack) | 1 | |
| 6 | HOSE-FUEL FILL | 1 | |
| 7 | SCR-HXFL-M6X1.0X30RIEDGPNT | 2 | |
| 8 | ASM-FUEL LINE | 1 | |
| 9 | LINE-VENT5/16 ID27 CM | 1 | |
| 10 | NUTNYLOK(10) (10 per pack) | 2 | |
| 11 | CLAMP-CONSTANT TENSION50-70 | 1 | |
| 12 | WASHER FLAT(10) (10 per pack) | 2 | |
| 13 | VALVE-CHECKVACUUM | 2 | |
| 14 | FITTING-Y1/4 | 1 | |
| 15 | LINEFUEL1/4 ID(1525 CM.) [BULK SVC] | 0 |
