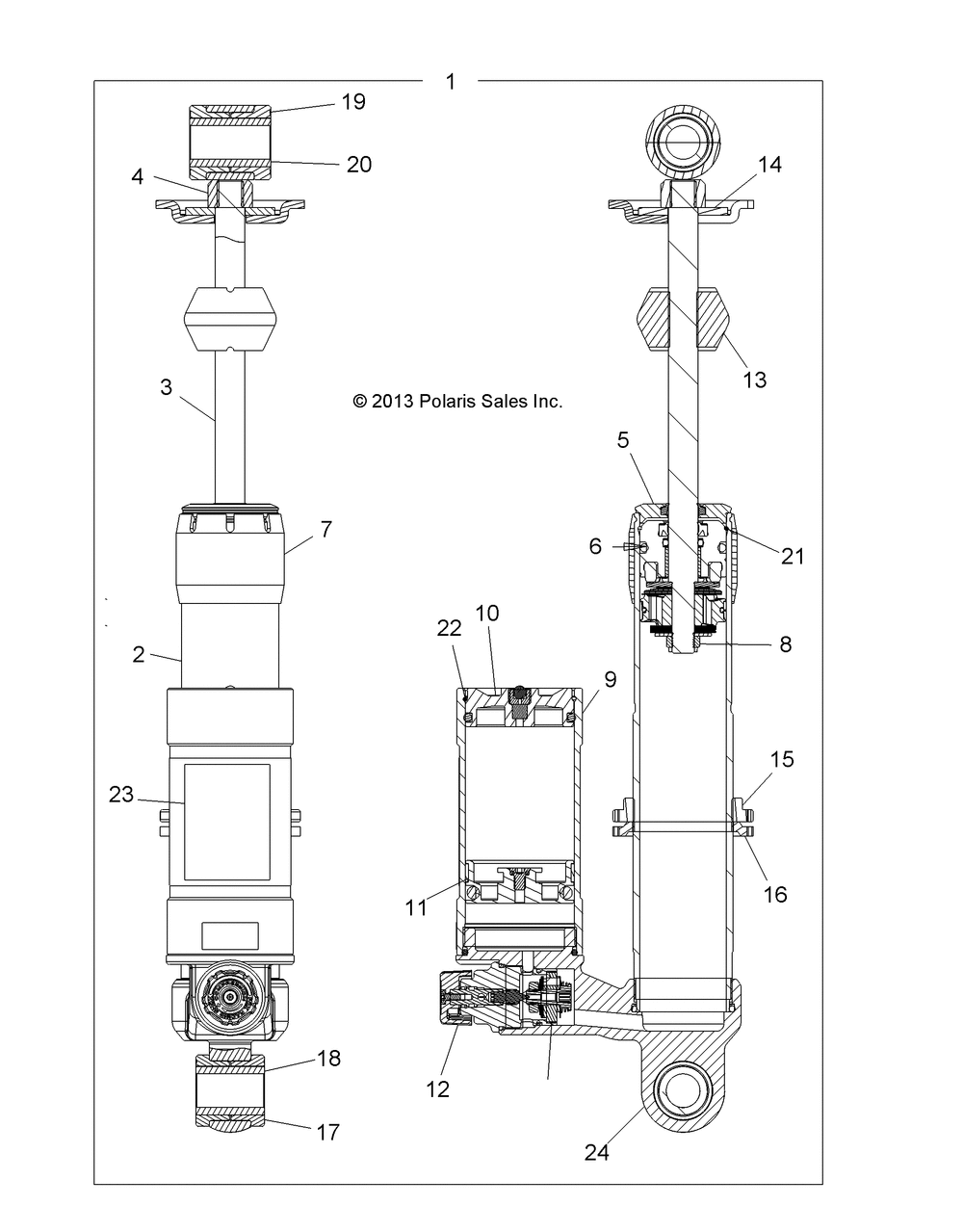
SUSPENSION SHOCK FRONT - A14ZN8EAP (49ATVSHOCKFRT7044135)

Корзина пуста