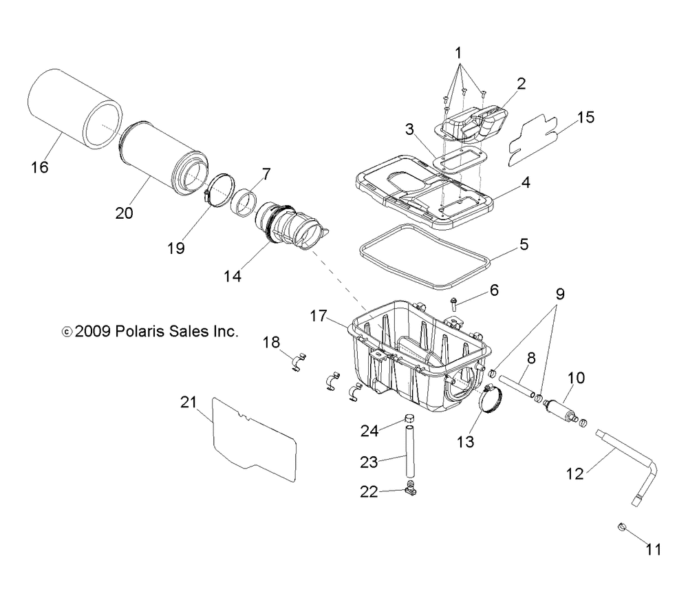
| № | Наименование | Примечание | Кол-во |
|---|---|---|---|
| 1 | SCREW(10) (10 per pack) | 4 | |
| 2 | DUCT-INLETAIRBOX COVER | 1 | |
| 3 | GASKETINTAKE | 1 | |
| 4 | COVERAIRBOX | 1 | |
| 5 | SEAL-AIRBOX COVER | 1 | |
| 6 | SCREW(10) (10 per pack) | 2 | |
| 7 | SLEEVE-CARBINNER | 1 | |
| 8 | LINEBREATHER3/8 ID. | 0 | |
| 9 | CLAMPHOSE | 4 | |
| 10 | FILTERBREATHERIN LINE | 1 | |
| 11 | CLAMPHOSESPRING | 1 | |
| 12 | HOSE-BREATHERFORMEDW/CHAFE | 1 | |
| 13 | CLAMPBANDNARROW (10) (10 per pack) | 1 | |
| 14 | BOOT-CARBAIR BOX | 1 | |
| 15 | FLAP-AIR INTAKE | 1 | |
| 16 | FILTERPRECLEANSLEEVE | 1 | |
| 17 | BOXAIR | 1 | |
| 18 | CLIP | 6 | |
| 19 | CLAMPBANDNARROW (10) (10 per pack) | 1 | |
| 20 | FILTER-AIR INTAKE | 1 | |
| 21 | FOIL-AIRBOX10.75 X 5.60 | 1 | |
| 22 | PLUG-TRAP | 1 | |
| 23 | FUEL LINE | 0 | |
| 24 | CLAMPHOSE | 1 |
