| № | Наименование | Примечание | Кол-во |
|---|---|---|---|
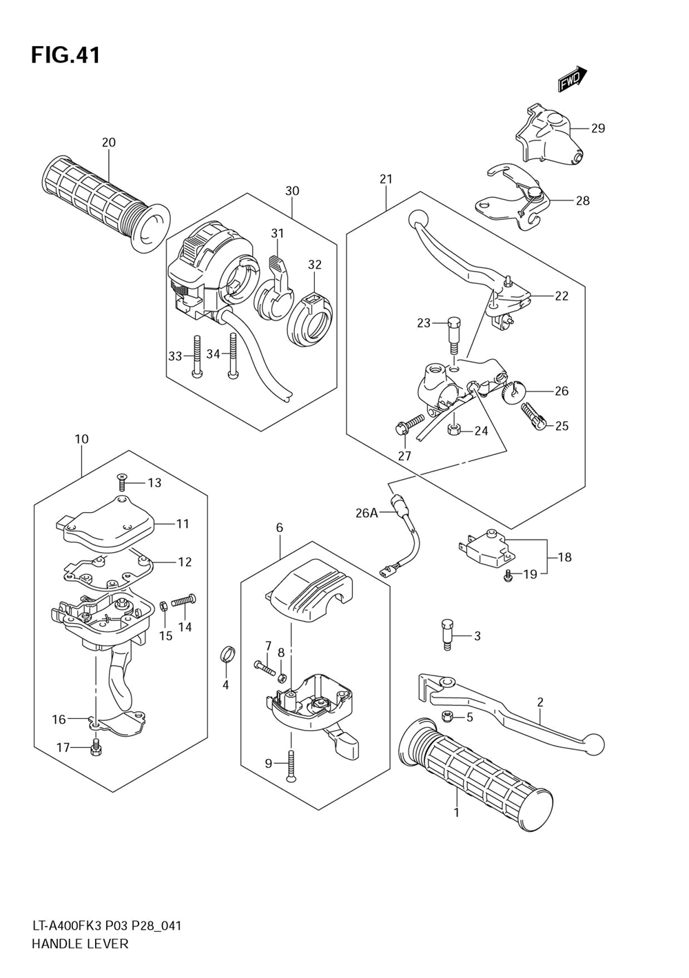
| 1-1 | GRIP | 1 | |
| 1-2 | GRIP | 1 | |
| 2-1 | LEVERFRONT BRA | 1 | |
| 2-2 | LEVER FRONT BRAKE | 1 | |
| 3-1 | BOLT | 1 | |
| 3-2 | BOLT PIVOT | 1 | |
| 4 | SPACERMASTER C | 1 | |
| 5 | NUT LEVER PIVOT | 1 | |
| 6 | CASE ASSY THRO | 1 | |
| 7 | SCREW | 1 | |
| 8 | NUT | 1 | |
| 9 | SCREW | 2 | |
| 10-1 | CASE ASSYTHROT | 1 | |
| 10-2 | CASE ASSYTHROT | 1 | |
| 11 | CAP | 1 | |
| 12 | GASKET | 1 | |
| 13 | SCREW | 3 | |
| 14 | SCREW | 1 | |
| 15 | NUT | 1 | |
| 16 | .HOLDER | 1 | |
| 17 | .BOLT | 2 | |
| 18-1 | SWITCH ASSYFRN | 1 | |
| 18-2 | SWITCH ASSYFRN | 1 | |
| 19 | SCREW | 1 | |
| 21-1 | LEVER ASSYREAR | 1 | |
| 21-2 | LEVER ASSYREAR | 1 | |
| 22-1 | LEVER SETCLUTC | 1 | |
| 22-2 | LEVER SETCLUTC | 1 | |
| 23 | .BOLT PIVOT | 1 | |
| 24 | NUT | 1 | |
| 25 | ADJUSTERWIRE | 1 | |
| 26 | NUTLOCK | 1 | |
| 26A | SWITCH ASSYSTO | 1 | |
| 27 | BOLT | 1 | |
| 28 | .STOPPER BRAKE LEVER | 1 | |
| 29 | COVER BRAKE LEVER | 1 | |
| 30 | SWITCH ASSYHAN | 1 | |
| 31 | .LEVER CHOKE | 1 | |
| 32 | .COVER CHOKE | 1 | |
| 33 | .SCREW | 1 | |
| 34 | .SCREW | 1 |
