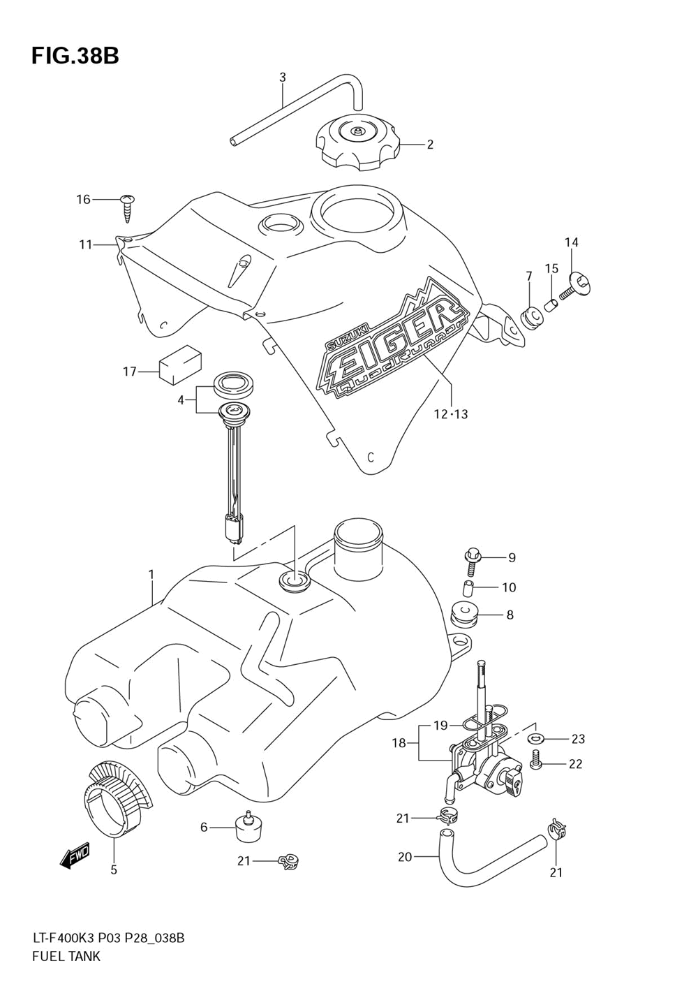
| № | Наименование | Примечание | Кол-во |
|---|---|---|---|
| 1 | Деталь | 1 | |
| 2 | CAPFUEL TANK F | 1 | |
| 3 | HOSE5X8.2X600 (L:600->250) | 1 | |
| 4 | GAS GAUGE FUEL | 1 | |
| 5 | CUSHION FRONT | 2 | |
| 6 | CUSHION LOWER | 2 | |
| 7 | CUSHION SEAT MOUNT REAR | 1 | |
| 8 | CUSHION REAR | 2 | |
| 9 | BOLT (6X30) | 2 | |
| 10 | SPACERFUEL TAN | 2 | |
| 11-1 | COVER FUEL TAN | 1 | |
| 11-2 | COVER FUEL TAN | 1 | |
| 11-3 | COVER FUEL TAN | 1 | |
| 12 | EMBLEM FUEL TA | 1 | |
| 13 | EMBLEM FUEL TA | 1 | |
| 14 | BOLT | 1 | |
| 15 | SPACER (6.5X9X12.5) | 1 | |
| 16 | SCREW | 2 | |
| 17 | RUBBER | 1 | |
| 18 | COCK ASSYFUEL | 1 | |
| 19 | O RING | 1 | |
| 20 | HOSE FUEL | 1 | |
| 21 | CLIP | 2 | |
| 22 | SCREW | 2 | |
| 23 | GASKET | 2 |
