| № | Наименование | Примечание | Кол-во |
|---|---|---|---|
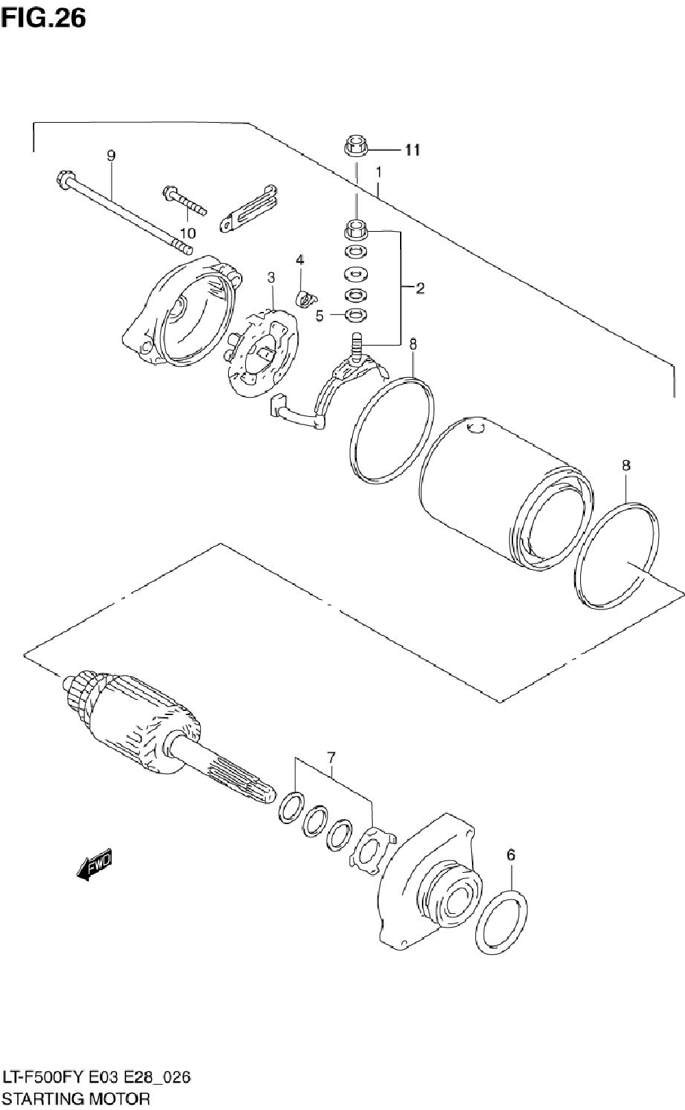
| 1-1 | MOTOR ASSYSTAR | 1 | |
| 1-2 | MOTOR ASSYSTAR (MODEL W/X~JS1SP46A X2100596) | 1 | |
| 1-3 | MOTOR ASSYSTAR | 1 | |
| 2 | TERMINAL SET B | 1 | |
| 3 | HOLDER SET BRU | 1 | |
| 4 | SPRING BRUSH | 4 | |
| 5 | O-RING | 1 | |
| 6 | O RING | 1 | |
| 7 | WASHER SET | 1 | |
| 8 | O RING | 2 | |
| 9 | BOLT | 2 | |
| 10 | BOLT | 2 | |
| 11 | NUT | 1 |
