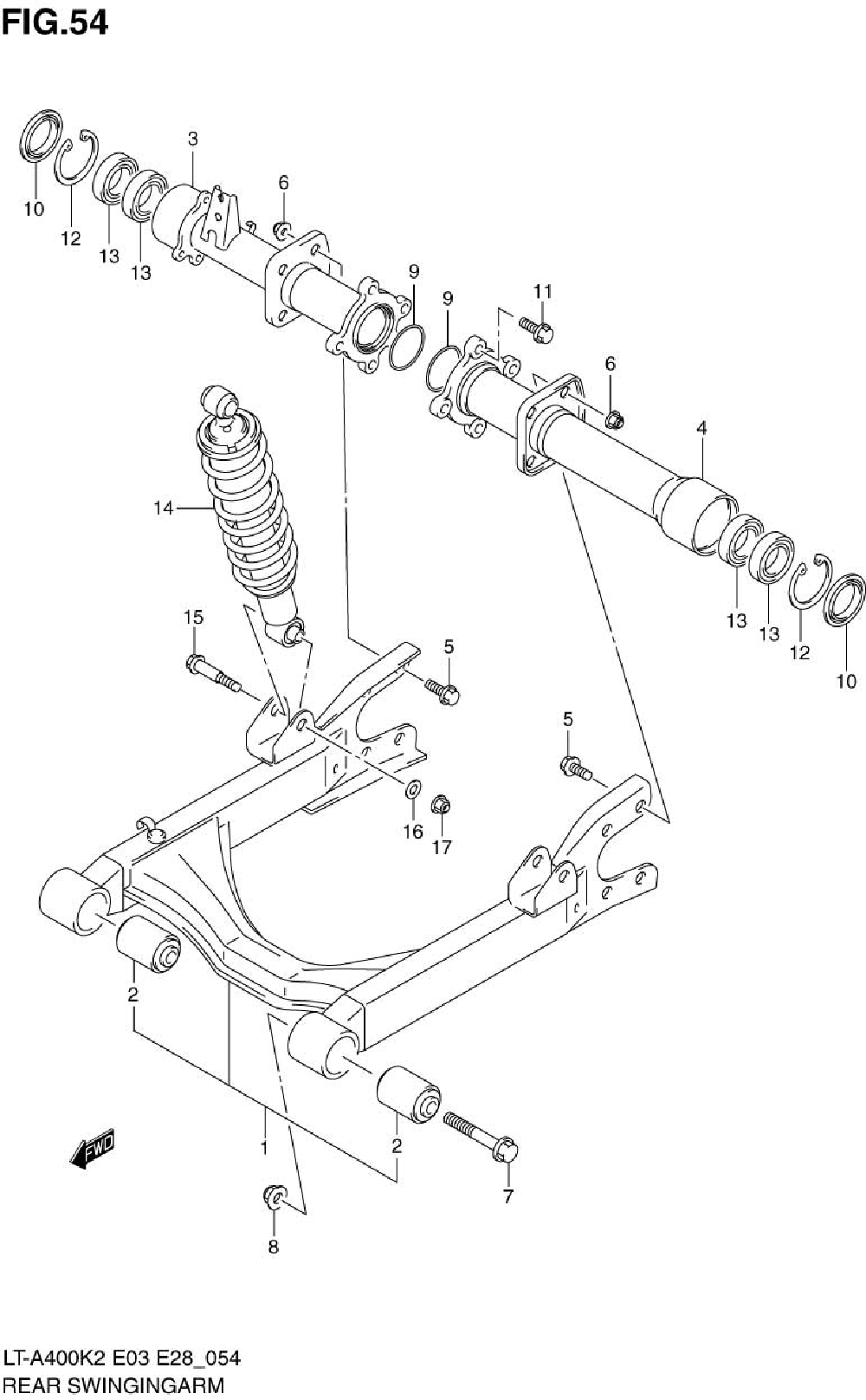
| № | Наименование | Примечание | Кол-во |
|---|---|---|---|
| 1 | SWINGARM SETRE | 1 | |
| 2 | BUSHRR SWGARM | 2 | |
| 3 | HOUSING RR AXL | 1 | |
| 4 | HOUSING RR AXL | 1 | |
| 5 | BOLT | 8 | |
| 6 | NUT | 8 | |
| 7 | BOLTRR SWGARM | 2 | |
| 8 | NUTENG MTG | 2 | |
| 9 | O RING DRIVEN B | 2 | |
| 10 | OIL SEAL (38X55X9) | 2 | |
| 11 | BOLT | 4 | |
| 12 | CLIP | 2 | |
| 13 | BEARING | 4 | |
| 14 | Деталь | 2 | |
| 15 | BOLT | 2 | |
| 16 | WASHER 10.5X30 | 2 | |
| 17 | NUT | 4 |
