| № | Наименование | Примечание | Кол-во |
|---|---|---|---|
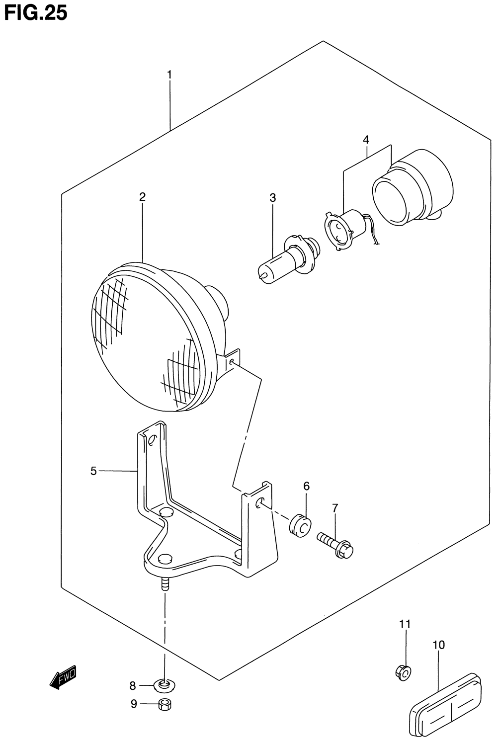
| 1 | HEADLAMP ASSY | 2 | |
| 2 | UNIT ASSY | 2 | |
| 3 | BULB 12V30/30W | 2 | |
| 4 | SOCKET | 2 | |
| 5 | BRACKET | 2 | |
| 6 | CUSHION | 4 | |
| 7 | BOLT | 4 | |
| 8 | WASHER | 6 | |
| 9 | NUT | 6 | |
| 10 | REFLECTOR FR SI | 2 | |
| 11 | NUT | 2 |
| Корзина пуста |
| № | Наименование | Примечание | Кол-во |
|---|---|---|---|
| 1 | HEADLAMP ASSY | 2 | |
| 2 | UNIT ASSY | 2 | |
| 3 | BULB 12V30/30W | 2 | |
| 4 | SOCKET | 2 | |
| 5 | BRACKET | 2 | |
| 6 | CUSHION | 4 | |
| 7 | BOLT | 4 | |
| 8 | WASHER | 6 | |
| 9 | NUT | 6 | |
| 10 | REFLECTOR FR SI | 2 | |
| 11 | NUT | 2 |